特性
- Current output options
- 0mA to 24mA
- 4mA to 20mA
- 0mA to 20mA
- ±0.1% FSR typical Total Unadjusted Error (TUE)
- ±1LSB max DNL
- AVDD - 2V max loop compliance voltage
- Internal 5V reference (10ppm/°C, max)
- Internal 4.6V power-supply output
- CRC frame error check
- Watchdog timer
- Thermal alarm
- Open circuit alarm
- Terminals to monitor output current
- On-chip fault alarm
- User-calibration for offset and gain
- -40°C to +125°C wide temperature range
- 6mm×6mm QFN-40 and TSSOP-24 package
应用
- 4mA to 20mA current loops
- Analog output modules
- Building automation
- Environment monitoring
- Programmable Logic Controllers (PLCs)
- Field sensors and process transmitters
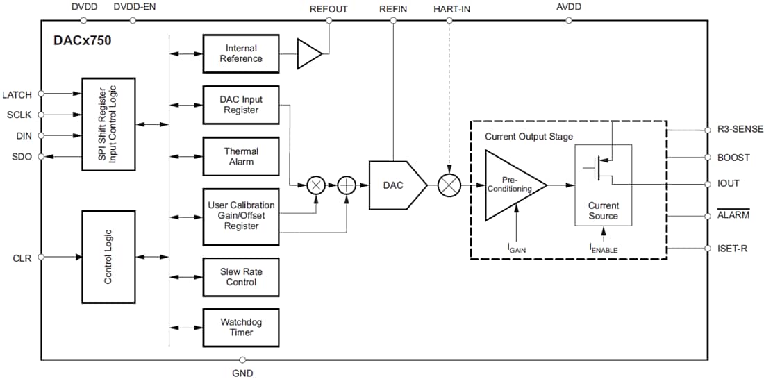
Functional Block Diagram
发布日期: 2014-08-18
| 更新日期: 2022-03-11

