特性
- 超紧凑0.16"(3.965mm)对角线微镜阵列
- 显示分辨率:320×180
- 5.4µm微镜间距
- 微镜倾斜度:17°(相对于平面)
- 侧面照明,实现最优的效率和光学引擎尺寸
- 不受偏振影响的铝微镜表面
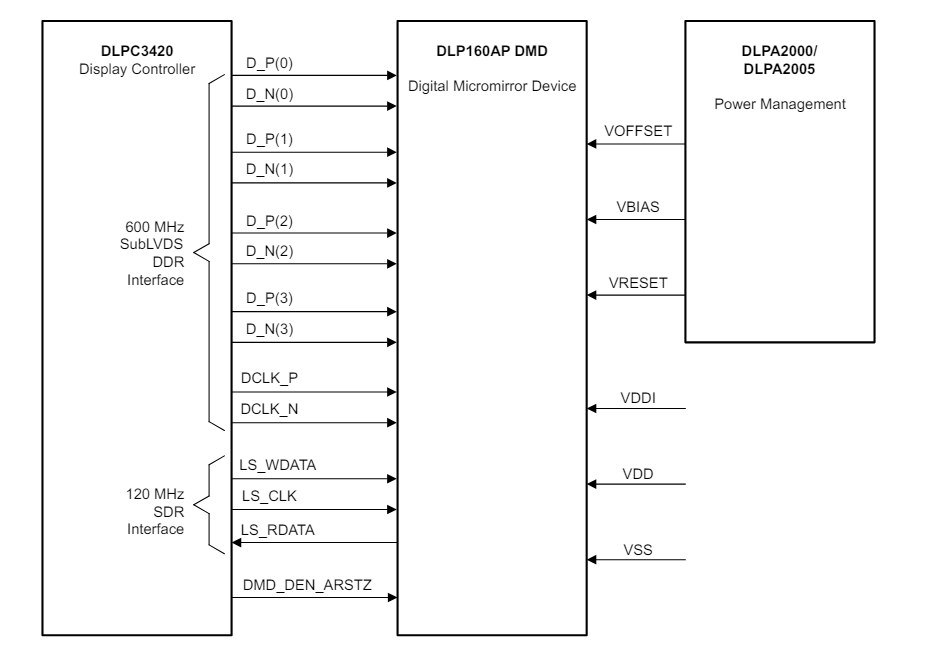
- 4位SubLVDS输入数据总线
- 专用DLPC3420显示控制器和DLPA2000或DLPA2005 PMIC/LED驱动器,确保可靠运行
应用
- 显示器:
- 超便携、超低功耗微型投影仪
- 手机、平板电脑和笔记本电脑
- 智能显示屏
- 智能家居
- 增强现实眼镜
- 信息显示
简化应用
框图
发布日期: 2024-06-21
| 更新日期: 2024-07-10

