特性
- Input Voltage Range: 8 to 30V
- Total Driver H + L RDSon: 250mΩ
- Drive Current: 2A Continuous (3A Peak)
- Sensorless Proprietary Back Electromotive Force (BEMF) Control Scheme
- Continuous Sinusoidal 180° Commutation
- No External Sense Resistor Required
- For Flexibility User may Include External Sense Resistor to Monitor Power Delivered to the Motor
- Flexible User Interface Options
- I2C Interface: Access Registers for Command and Feedback
- Dedicated SPEED Pin: Accepts Either Analog or PWM Input
- Dedicated FG Pin: Provides TACH Feedback
- Spin Up Profile can be Customized With EEPROM
- Forward/Reverse Control With DIR Pin
- Integrated Buck/Linear Converter to Efficiently Provide Voltage (5V/3.3V) for Internal and External Circuits
- Supply Current 3.5mA With Standby Version (DRV10983)
- Overcurrent Protection
- Lock Detection
- Voltage Surge Protection
- UVLO Protection
- Thermal Shutdown Protection
- Thermally Enhanced 24-Pin HTSSOP
应用
- Appliance Fan
- HVAC
Datasheets
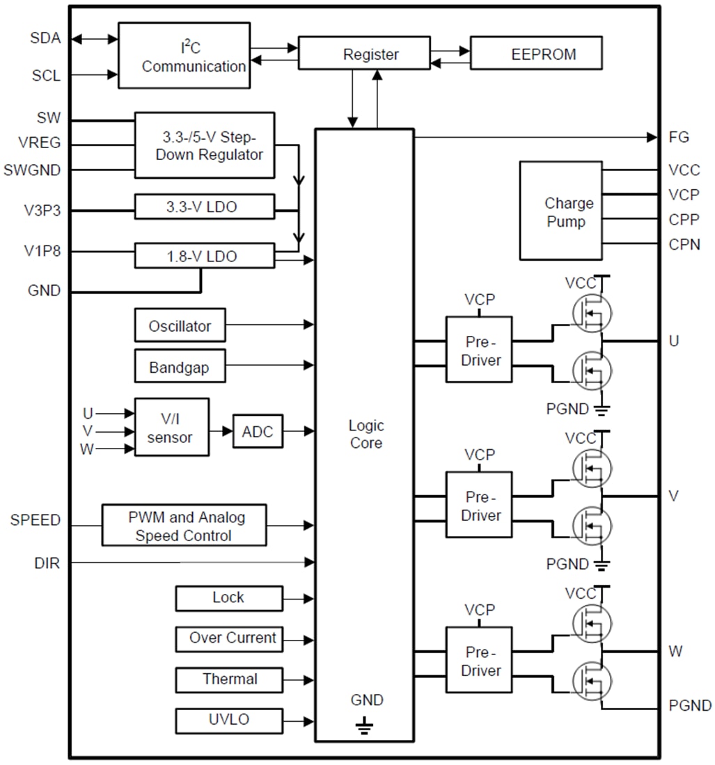
Functional Block Diagram
TI Reference Designs Library
发布日期: 2014-08-19
| 更新日期: 2022-03-11

