提供连续正弦驱动,DRV10987使用获得专利的无传感型控制方案大幅减少纯音,这通常通过换相得以实现。简单灵活的I2C接口,与FG引脚同时提供电机速度反馈。此外,I2C接口可以用于重新编辑寄存器中的特定电机参数以及编辑EEPROM,从而在任何特定应用中提供最佳性能。内部和外部电路均由集成降压稳压器供电,为DRV10987供电电压降至5V。DRV10987采用热效率高的HTSSOP-24封装,带裸露散热盘,特别设计用于成本敏感、低噪声、外部组件数量少的风扇和泵应用。
特性
- 工作电压范围:
- 电机运行,6.2V至28V
- 总驱动器H+L rDS(on)
- 250mΩ(TA=25°C时)
- 驱动电流:2A连续绕组电流(3A峰值)
- 无传感器正弦180°换相方案
- 可配置的输出PWM转换速率和频率,用于EMI管理
- 初始位置检测算法,避免启动后离心
- 无需外部检流电阻
- 灵活的用户接口选择:
- I2C接口:访问寄存器获得命令和反馈
- 专用SPEED引脚:接受模拟或PWM输入
- 专用FG引脚:提供TACH反馈
- Spin-Up Profile可通过EEPROM进行定制
- 通过DIR引脚进行正向-反向控制
- 集成降压转换器,5V,100mA
- 集成LDO,3.3V,20mA
- 待机电流:8.5mA
- 通过待机版 (DRV10987S) 供应达8.5mA的电流
- 电源电流为48µA,休眠版本 (DRV10987D)
- 保护特性
- 过流保护 (相间、相位至GND和相位至VCC 短路)
- 锁定检测,检测转子锁定情况
- 防电压浪涌 (AVS)
- 欠压闭锁 (UVLO)
- 过压保护
- 过热报警和关断
- 热增强型封装
应用
- 落地扇和吊扇
- 空气净化器和加湿器
- 干燥循环风扇
- 排水和水泵
- 三相无刷直流 (BLDC) 电机和永磁同步电机 (PMSM)
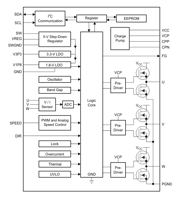
DRV10987框图
发布日期: 2018-04-04
| 更新日期: 2022-11-18

