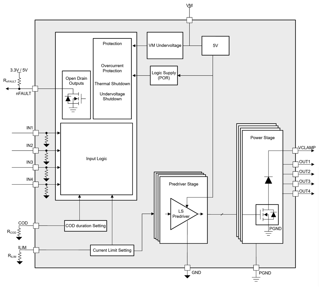
Texas Instruments DRV81545可以通过硬件GPIO接口来控制。每个通道都具有单独的过温保护功能,并且通过ILIM引脚上的外部电阻器可以调整模拟电流限制。有一个可选的截止延迟 (COD) 配置,该配置限制了相应通道上的电流限制条件的持续时间,有助于防止器件或负载损坏。故障会在故障输出引脚 (nFAULT) 上显示。
特性
- 四通道集成式低侧开关
- RDS(ON):235mΩ(25°C时)
- 输出级最大工作电压:55V(绝对最大值为60V)
- 4.5V低最小工作电源电压范围,电压范围内的导通电阻 (RDS(ON)) 稳定
- 可选择电流限制,每个通道电流限制范围为0.5A至3A
- 集成环流二极管,用于灵活衰减(外部TVS/Zener),作为开关关断时的备用电流路径
- 硬件INx接口,可实现高达250kHz的快速切换
- 通过MCU故障中断信号 (nFAULT) 提供诊断反馈
- 热增强型表面贴装封装 (PWP20)
- 保护特性
- 用户可设置电流限制
- 每个开关均具有独立的过温、过电流保护功能
- 可配置过电流切断延迟 (COD)
应用
- PLC
- 分布式I/O
- 现场设备
- 通用继电器和螺线管驱动器
- 纺织机械
功能框图
发布日期: 2026-01-21
| 更新日期: 2026-01-28

