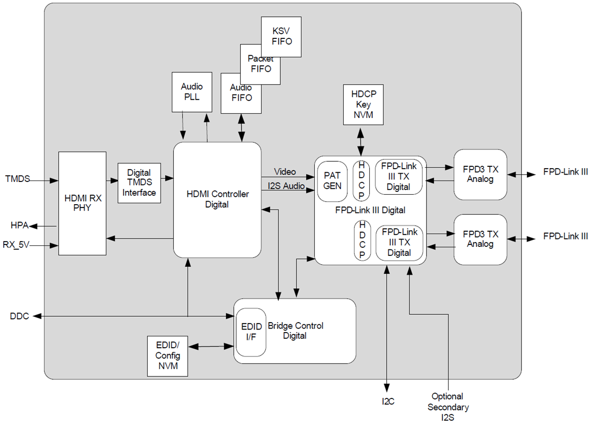
FPD-Link III接口支持通过同一条差分链路进行视频和音频数据传输以及全双工控制(包括I2C和SPI通信)。通过两个差分对实现视频数据和控制的整合可减小互连线尺寸和重量,并简化了系统设计。 通过低压差分信号、数据扰频和随机化最大限度地减少EMI。在逆向兼容模式下,该器件在单一差分链路上最高可支持1080p(94x解串器)和720p( 92x解串器)分辨率(24位色深)。
特性
- 符合汽车应用类AEC-Q100标准
- 器件温度等级2:-40°C至105°C的环境运行温度范围
- 器件人体模型 (HBM) 静电放电 (ESD) 分类等级2
- 器件充电器件模型 (CDM) 静电放电分类等级C5
- 支持TMDS时钟频率高达210MHz(2K分辨率,2880x1080),24位色深
- 单和双FPD-Link III输出,支持STP或STQ电缆
- 高清多媒体 (HDMI) v1.4b兼容输入
- HDMI模式DisplayPort (DP++) 输入
- 集成HDCP v1.4加密引擎,带片上密钥存储
- 最多支持8通道HDMI音频提取
- 高速反向通道,支持高达2Mbps GPIO
- 可跟踪扩展频谱输入时钟,以便减少电磁干扰 (EMI)
- 具有1Mbps快速模式+的I2C(主/从)
- SPI直通接口
- 后向兼容DS90UH926Q-Q1和DS90UH928Q-Q1 FPD-Link III解串器
应用
- 汽车信息娱乐系统
- 车载信息娱乐 (IVI) 主机和人机交互界面 (HMI) 模块
- 后座娱乐系统
- 数字仪表板
- 安全和监控摄像机
- 消费类输入HDMI端口
功能框图
视频
发布日期: 2018-09-26
| 更新日期: 2025-03-10

