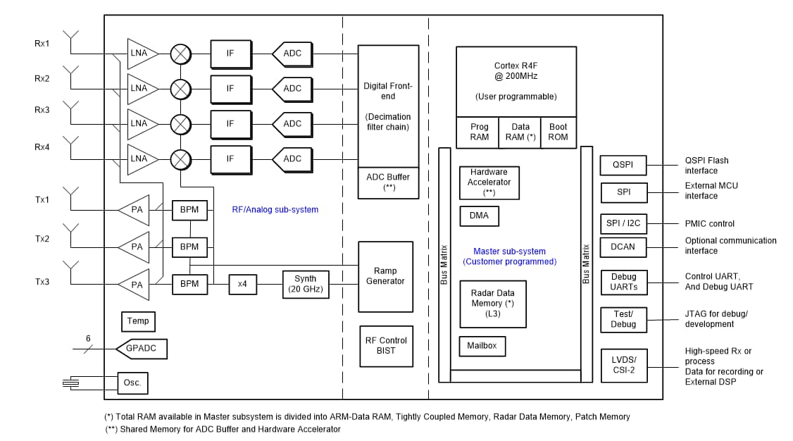
毫米波传感器内置完全可配置的硬件加速器,支持复杂FFT和CFAR检测。此外,该器件包含两个基于ARM R4F的处理器子系统。一个处理器子系统用于主控制和其他算法。第二个处理器子系统用于前端配置、控制和校准。该器件只需进行简单的编程型号变更,即可实施各种传感器,并可进行动态重新配置以实施多模传感器。IWR1443包括参考硬件设计、软件驱动程序、示例配置、API指南、培训和用户文档。
特性
- FMCW收发器
- 集成式PLL、发送器、接收器、基带和A2D
- 76GHz至81GHz工作频带,4GHz连续带宽
- 四个接收通道
- 三个发射通道(可以同时使用两个)
- 基于小数N分频PLL的超精准线性调频脉冲引擎
- TX功率:12dBm
- RX噪声系数:
- 14dB (76GHz - 77GHz)
- 15dB (77GHz - 81GHz)
- 相位噪声 (1MHz):
- –95dBc/Hz (76GHz - 77GHz)
- –93dBc/Hz (77-81GHz)
- 片上可编程核心,用于嵌入式用户应用
- 集成式Cortex®-R4F微控制器,时钟频率为200MHz
- 片上引导加载程序支持自主模式(从QSPI闪存加载用户应用程序)
- 集成外设
- 内部存储器(带ECC)
- 雷达硬件加速器(FFT、对数幅度计算等)
- 集成计时器(看门狗和最多四个32位或两个64位计时器)
- I2C(支持主从模式)
- 两个SPI端口
- CAN端口
- 多达六个通用ADC端口
- 高速数据接口,支持分布式应用程序
- 内置校准和自检
- 基于ARM® Cortex®-R4F的无线电控制系统
- 内置固件 (ROM)
- 在整个频率和温度范围内的自校准系统
- 主机接口
- 控制接口,带外部处理器(通过SPI)
- 数据接口,带外部处理器(通过MIPI D-PHY和CSI2 V1.1)
- 中断,用于故障报告
- IWR1443高级特性
- 嵌入式自我监测,无需借助主机处理器
- 复杂的基带架构
- 嵌入式干扰检测能力
- 电源管理
- 用于增强PSRR的内置LDO网络
- I/O支持双电压3.3V/1.8V
- 时钟源
- 支持40MHz外部振荡器
- 支持40MHz外部驱动时钟(方波/正弦波)
- 简单的硬件设计
- 0.65mm脚距、161引脚10.4mm × 10.4mm覆晶法BGA封装,可实现易于组装和低成本的PCB设计
- 小尺寸解决方案
- 工作条件
- 结温范围:-40°C至105°C
应用
- 用于测量距离、速度和角度的工业传感器
- 液位探测雷达
- 位移检测
- 现场传送器
- 交通监控
- 接近和位置传感
- 安防与监控
- 工厂自动化
- 安全防护装置
框图
发布日期: 2018-12-17
| 更新日期: 2024-09-16

