IWR2243是一个独立的FMCW收发器单芯片解决方案,可简化雷达传感器的实施。它基于TI的低功耗45nm RFCMOS工艺构建,可在单片上实现包含内置ADC转换器和PLL的3TX、 4RX系统。简单的编程模型更改可以实现各种传感器应用,并且可以进行动态重新配置,以实现多模式传感器。 IWR2243设备支持多个设备级联连接。此功能增强了角分辨率,以满足高性能雷达传感器的开发。
特性
- FMCW收发器
- 集成PLL、发射器、接收器、基带和ADC
- 76GHz至81GHz工作频带,5GHz可用带宽
- 四个接收通道
- 三个发射通道
- 基于小数N分频PLL的超精准线性调频脉冲引擎
- 13dBm TX功率
- RX噪声系数:13dB
- 1MHz时的相位噪声
- -96dBc/Hz (76 GHz 到 77 GHz)
- -94dBc/Hz (77 GHz 到 81 GHz)
- 内置校准和自检
- 内置固件 (ROM)
- 在整个频率和温度范围内的自校准系统
- 主机接口
- 通过SPI或I2C接口控制与外部处理器的连接
- 通过MIPI D-PHY和 CSI2 v1.1实现与外部处理器的数据接口
- 用于故障报告的中断
- 符合功能安全标准
- 开发用于功能安全应用
- 可帮助IEC 61508功能安全系统设计达到SIL 3的文档
- 硬件完整性高达SIL-2
- 安全相关认证
- IEC 61508已通过TUV SUD认证,达到SIL 2
- IWR2243高级特性
- 嵌入式自我监测,有限借助主机处理器
- 复杂的基带架构
- 可以级联多个器件,增加通道数
- 嵌入式干扰检测能力
- 电源管理
- 用于增强PSRR的内置LDO网络
- I/O支持双电压3.3V/1.8V
- 时钟源
- 支持40MHz外部驱动时钟(方波/正弦波)
- 支持40MHz晶体连接(带负载电容器)
- 简单的硬件设计
- 0.65mm脚距、161引脚10.4mm × 10.4mm覆晶法BGA封装,可实现易于组装和低成本的PCB设计
- 较小的解决方案尺寸
- 结温范围: -40°C至105°C
应用
- 用于测量范围、速度和角度的工业传感器
- 机器人技术
- 交通监控
- 安全和监控
- 工厂自动化安全防护装置
- 采用级联配置的成像雷达
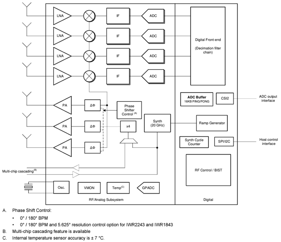
功能框图
发布日期: 2024-01-19
| 更新日期: 2024-01-31

