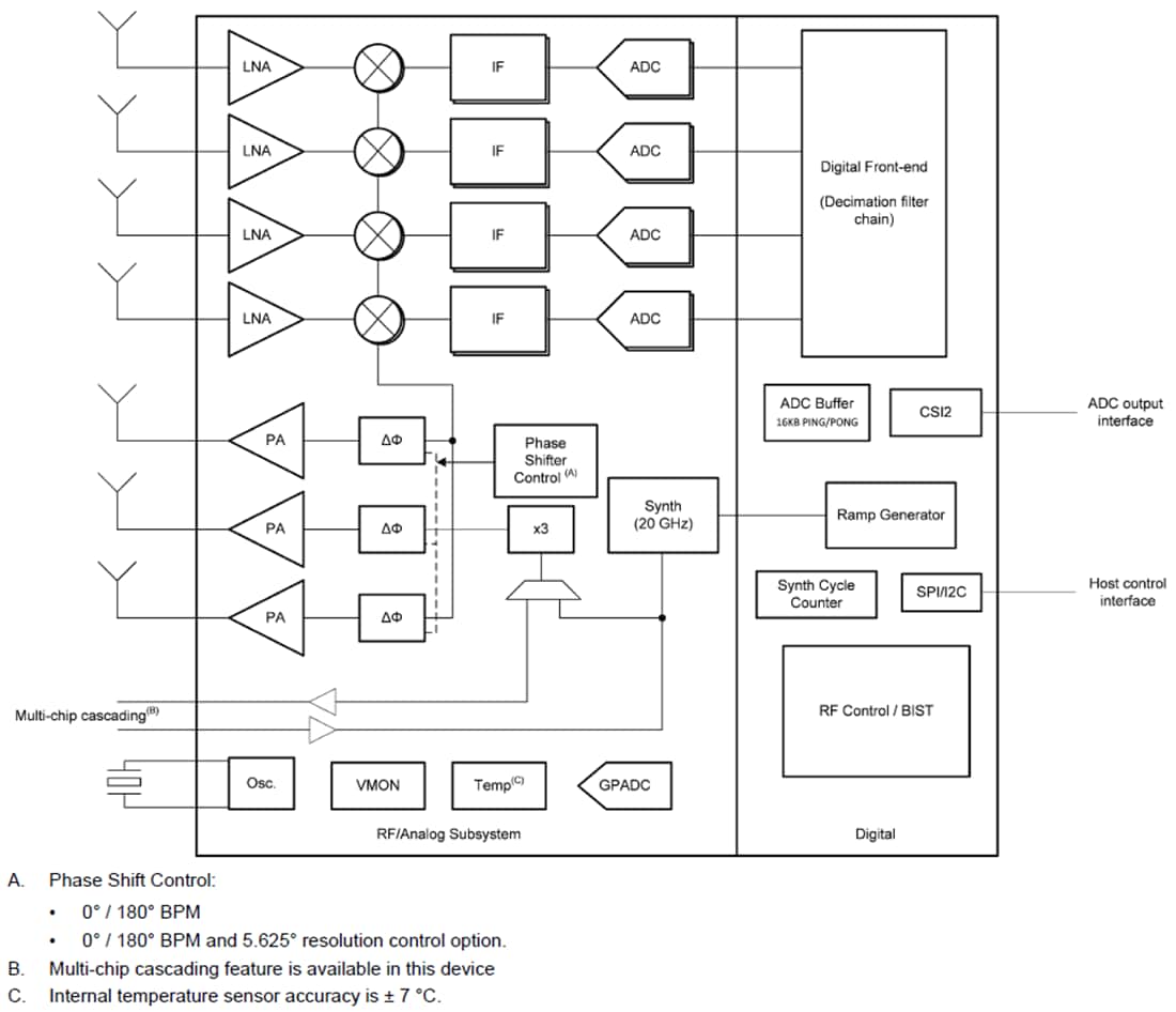
IWR6243是一个独立的FMCW收发器单芯片解决方案,可简化雷达传感器的实施。它基于TI的低功耗45nm RFCMOS工艺构建,可实现具有内置ADC转换器和PLL的3TX、4RX系统的单片实施。只需进行简单的编程型号变更,即可实施各种传感器(短、中、长),并可进行动态重新配置以实施多模传感器。
特性
- FMCW收发器
- 集成PLL、发射器、接收器、基带和ADC
- 57GHz至64GHz工作频带,7GHz可用带宽
- 四个接收通道
- 三个发射通道
- 支持用于TX波束成形的6位移相器
- 基于小数N分频PLL的超精准线性调频脉冲引擎
- 12dBm TX功率
- RX噪声系数:10dB
- 1MHz时的相位噪声
- -93dBc/Hz 的产品评估板
- 内置校准和自检
- 在整个频率和温度范围内的自校准系统
- 主机接口
- 通过SPI或I2C接口与外部处理器进行控制连接
- 数据接口通过MIPI D-PHY、CSI2 v1.1和LVDS(仅用于调试)与外部处理器连接
- 可中断以报告故障
- 符合功能安全标准
- 开发用于功能安全应用
- 可帮助IEC 61508功能安全系统设计达到SIL 3的文档
- 硬件完整性高达SIL-2
- 安全相关认证
- IEC 61508已通过TUV SUD认证,达到SIL 2
- IWR6243高级特性
- 嵌入式自我监测,只需有限借助主机处理器
- 复杂的基带架构
- 可以级联多个器件,增加通道数
- 嵌入式干扰检测能力
- 电源管理
- 用于增强PSRR的内置LDO网络
- I/O支持双电压3.3V/1.8V
- 时钟源
- 支持40MHz外部驱动时钟(方波/正弦波)
- 支持40MHz晶体连接(带负载电容器)
- 简单的硬件设计
- 10.65mm间距,161引脚10.4mm × 10.4mm倒装芯片BGA封装,不仅易于组装,而且PCB设计成本低
- 较小的解决方案尺寸
- 工作条件
- 结温范围为–40°C至105°C
应用
- 用于测量范围、速度和角度的工业传感器
- 楼宇自动化
- 位移检测
- 手势识别
- 机器人
- 交通监控
- 接近和位置传感
- 安防与监控
- 工厂自动化安全防护装置
- 人数统计
- 运动检测
- 占用检测
功能框图
发布日期: 2024-01-19
| 更新日期: 2024-02-15

