取决于用例要求,IWRL1432可为各功率域提供单独的控制来控制器件的状态(电源ON或OFF)。它可以实现深度睡眠和睡眠等各种低功耗状态,其中低功耗睡眠模式是通过时钟门控和关闭器件内部IP模块来实现的。在这种情况下,器件会保留部分内容,如应用的映像或射频的配置文件。
此外,该器件还采用了TI的低功耗45nm RFCMOS制造工艺,外形极为小巧,可实现前所未有的集成度。IWRL1432设计用于工业(和个人电子产品)领域中的低功耗、自监测、超精确雷达系统。它们非常适合用于商业/住宅安防应用、楼宇/工厂自动化、个人电子产品、存在/运动检测和人机界面的手势检测/识别。
特性
- FMCW收发器
- 集成PLL、发射器、接收器、基带和ADC
- 76 GHz至81 GHz工作频带,5 GHz连续带宽
- 三个接收通道和两个发射通道
- 短程
- 每Tx输出功率:11dBm(典型值)
- 噪声系数:14dB(典型值)
- 1MHz时的相位噪声:-89dBc/Hz(典型值)
- FMCW运行
- 5MHz IF带宽,仅实部Rx通道
- 基于小数N分频PLL的超精准线性调频脉冲引擎
- 每发射器二进制移相器
- 处理元件
- 带单精度FPU的Arm® M4F内核 (160MHz)
- 用于FFT、对数幅度和CFAR运算的TI雷达硬件加速器 (HWA 1.2) (80MHz)
- 支持多种低功耗模式
- 空闲模式和深度睡眠模式
- 电源管理
- 支持1.8 V和3.3 V IO
- 用于增强PSRR的内置LDO网络
- BOM优化和功率优化的模式
- 一个或两个电源轨(1.8V IO模式),两个或三个电源轨(3.3V IO模式)
- FCCSP器件的封装尺寸:6.45mm x 6.45mm
- 内置校准和自检
- 内置固件(ROM)
- 自带片上校准系统
- 主机接口
- UART
- CAN FD
- SPI
- 用于采集原始ADC样本的RDIF(雷达数据接口)
- 可用于用户应用的其他接口
- QSPI
- I2C
- JTAG:
- GPIO
- PWM接口
- 内部存储器
- 1 MB片上RAM
- 用于雷达立方体的可配置的L3共享内存
- 数据和代码RAM (512/640/768KB)
- 针对功能安全标准
- 开发用于功能安全应用
- 硬件完整性达到SIL 2标准
- 12 x 12、102个BGA焊球的FCCSP封装
- 时钟源
- 40.0MHz主时钟晶体
- 支持40.0 MHz外部驱动时钟(方波/正弦波)
- 用于低功耗运行的32kHz内部振荡器
- 支持温度工作范围
- 工作结温范围:-40°C至+105 °C
应用
- 自动门/闸门
- 运动探测器
- 用于测量范围、速度和角度的工业传感器
- 液位探测雷达
- 位移检测
- 交通监控
- 接近传感
- 安防与监控
- 工厂自动化安全防护装置
- 液位检测
- 电动自行车
- 停车道闸
- 越野车辆
- 脚踏电动踏板车
- 自平衡个人运输车
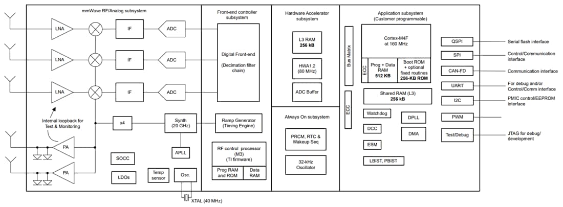
功能框图
发布日期: 2024-08-20
| 更新日期: 2024-08-29

