Texas Instruments LMG3626 700 V 220 mΩ GaN FET
Texas Instruments LMG3626 700V 220mΩ GaN FET设计用于开关电源 (SMPS) 应用。这款IC支持转换器轻载效率要求和突发模式操作,具有低静态电流和快速启动时间。 LMG3626的特点包括栅极驱动器、保护功能和电流检测功能。该GaN FET的保护功能包括欠电压锁定 (UVLO)、循环电流限制和过温保护。LMG3626 GaN FET支持在离线电源开关应用中遇到的高电压。GaN FET采用8mm x 5.3mm QFN封装,带有导热片。LMG3626非常适合用于AC/DC适配器和充电器、移动壁式充电器设计、USB壁式电源插座、辅助电源、电视SMPS电源和LED电源。特性
- 700V,220mΩ GaN电源FET
- 集成栅极驱动器,具有低传播延迟和可调节导通压摆率控制
- 具有高带宽和高精度的电流感应仿真
- 循环过电流保护
- 通过FLT引脚报告实现过热保护
- 240μA AUX静态电流
- 50μA AUX待机静态电流
- 最大电源和输入逻辑引脚电压:26V
- 工作温度范围:-40 °C至125 °C
- 8mm x 5.3mm QFN封装,带导热片
应用
- AC/DC适配器和充电器
- 移动墙式充电器设计
- USB墙式电源插座
- 辅助电源
- TVS SMPS电源
- LED电源
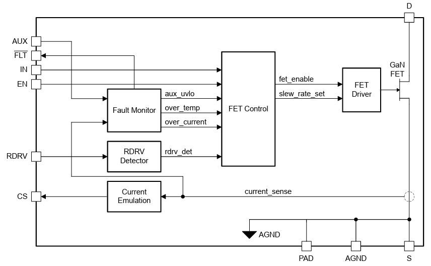
方框图
发布日期: 2025-09-19
| 更新日期: 2025-09-30
