APLL1采用TI专有的体声波 (BAW) 技术(称为BAW APLL),具有超高性能PLL。它可以在491.52MHz频率下产生40fs(典型值)/60fs(最大值)的输出时钟,具有12kHz至20MHz RMS抖动,与XO和DPLL参考输入的抖动和频率无关。APLL2/DPLL2为第二个频率和/或同步域提供了一个选项。
基准验证电路监控DPLL参考时钟,并在检测到转换事件后执行输入之间的无中断切换。可以启用零延迟模式 (ZDM) 和相位抵消,以控制输入与输出之间的相位关系。该设备可通过SPI或I2C完全编程。集成的电子擦除可编程只读存储器可用于定制系统启动时钟。该设备还具有出厂默认的ROM配置文件作为备用选项。
特性
- 基于BAW VCO的超低抖动无线基础设施和以太网时钟
- RMS抖动:40fs(典型值)/57fs(最大值,491.52MHz时)
- RMS抖动:50fs(典型值)/62fs(最大值,245.76MHz时)
- 两个高性能数字锁相环 (DPLL),带两个模拟锁相环 (APLL)
- 可编程DPLL环路滤波器带宽:1mHz至4kHz
- < 1ppt DCO频率调整步长
- 2个差分或单端DPLL输入
- 输入频率范围:1Hz (1PPS) 至800MHz
- 数字保持和无中断切换
- 12个差分输出,采用可编程HSDS、AC-LVPECL、LVDS和HSCL格式
- 在OUT0_P/N、OUT1_P/N、GPIO1和GPIO2上配置六个LVCMOS频率输出,在OUT2_P/N至OUT11_P/N上配置10个差分输出,总频率输出高达16个
- 输出频率:1Hz (1PPS) 至1250MHz,具有可编程摆幅和共模
- 符合PCIe Gen 1至6标准
- I2C或3线/4线 SPI
应用
- 4G和5G无线网络
- 有源天线系统(AAS)、mMIMO
- 宏远程无线电单元 (RRU)
- CPRI/eCPRI基带、集中式、分布式单元 (BBU, CU, DU)
- 小型蜂窝基站
- SyncE(G.8262)、SONET/SDH(Stratum 3/3E、G.813、GR-1244、GR-253)、IEEE-1588 PTP二次时钟
- 针对112G/224G PAM4 SerDes的抖动清除、漂移衰减和参考时钟生成
- 光传输网络 (OTN G.709)
- 宽带固定线路接入
- 工业(测试和测量)
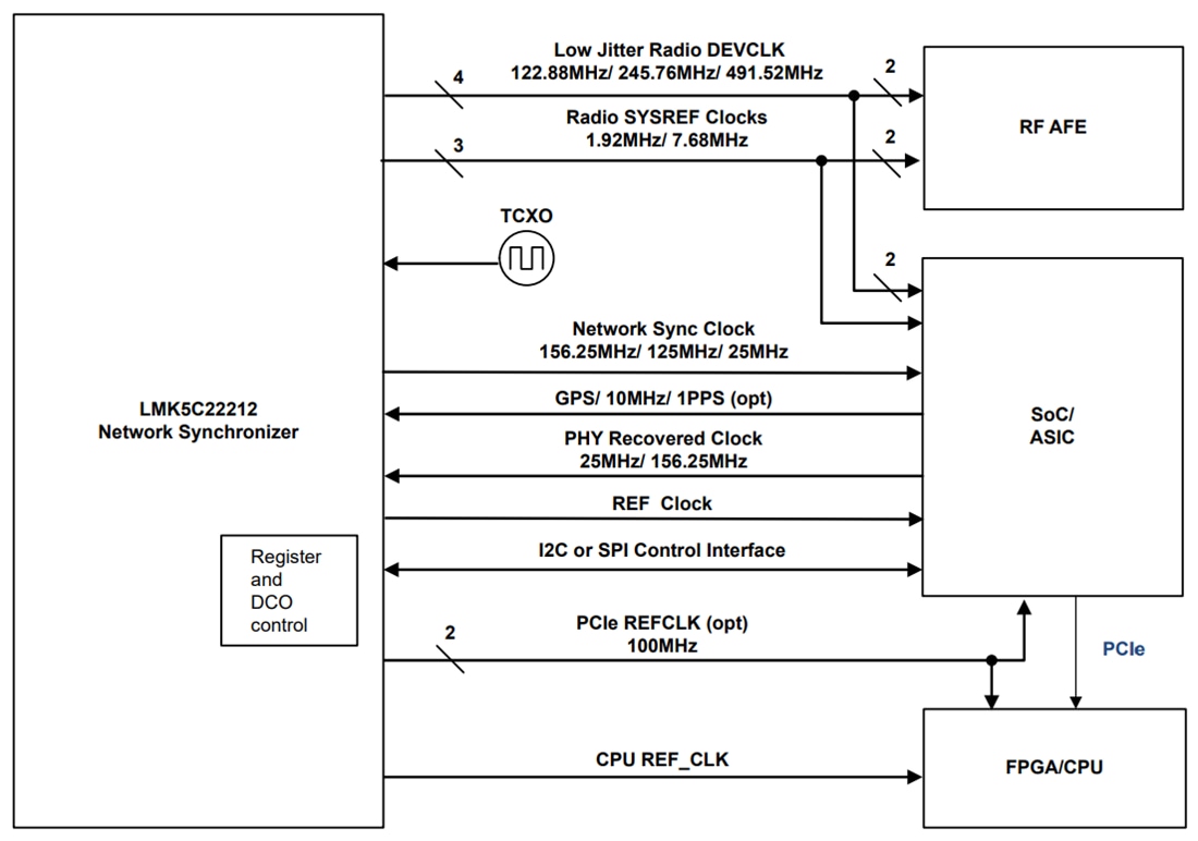
系统方框图
发布日期: 2025-03-19
| 更新日期: 2025-04-01

