Texas Instruments LMR60410-Q1同步降压式转换器
Texas Instruments LMR60410-Q1同步降压式转换器是一款汽车36V、1A转换器,具有低IQ 、高效率和最小化电容输出。这款降压式转换器在200kHz至2.2MHz可编程切换频率范围内工作。LMR60410-Q1 DC-DC转换器设计用于将较高输入电压有效降至较低调节输出电压。这款转换器具有扩频型号,采用超紧凑2.5mm x 2mm HotRod QFN-9封装,配有可湿性侧翼。LMR60410-Q1设备符合汽车应用类AEC-Q100标准。这款LMR60410-Q1转换器适用于汽车信息娱乐和仪表板、汽车驾驶辅助系统和汽车车身要求。特性
- 提供功能安全文档,以帮助设计功能安全系统。
- 符合汽车应用类AEC-Q100标准
- 环境工作温度范围:-40°C至125°C,设备温度等级1
- 引脚可编程输出电压选项,固定为3.3V/ADJ和5V/ADJ
- 可调输出电压范围:1 V至20 V
- 低最小导通时间tON :30ns(典型值)
- 针对低电磁干扰 (EMI) 要求进行了优化:
- 低电感HotRod™ QFN封装
- 提供先进的扩频选项
- 可编程切换频率范围:200kHz至2.2MHz
- 可选择FPWM、PFM或外部频率同步
- 宽输入电压范围:3V至36V(42V绝对最大值)
- 超低静态电流:
- 关断电流:0.65 μA
- 待机电流:5 μA
- 设计用于可扩展电源:
- 与LMR60406-Q1、LMR60420-Q1、LMR60430-Q1和LMR60440-Q1引脚兼容
- 用于电源排序的电源良好输出
应用
- 汽车信息娱乐和仪表板
- 汽车驱动器辅助系统
- 汽车车身要求
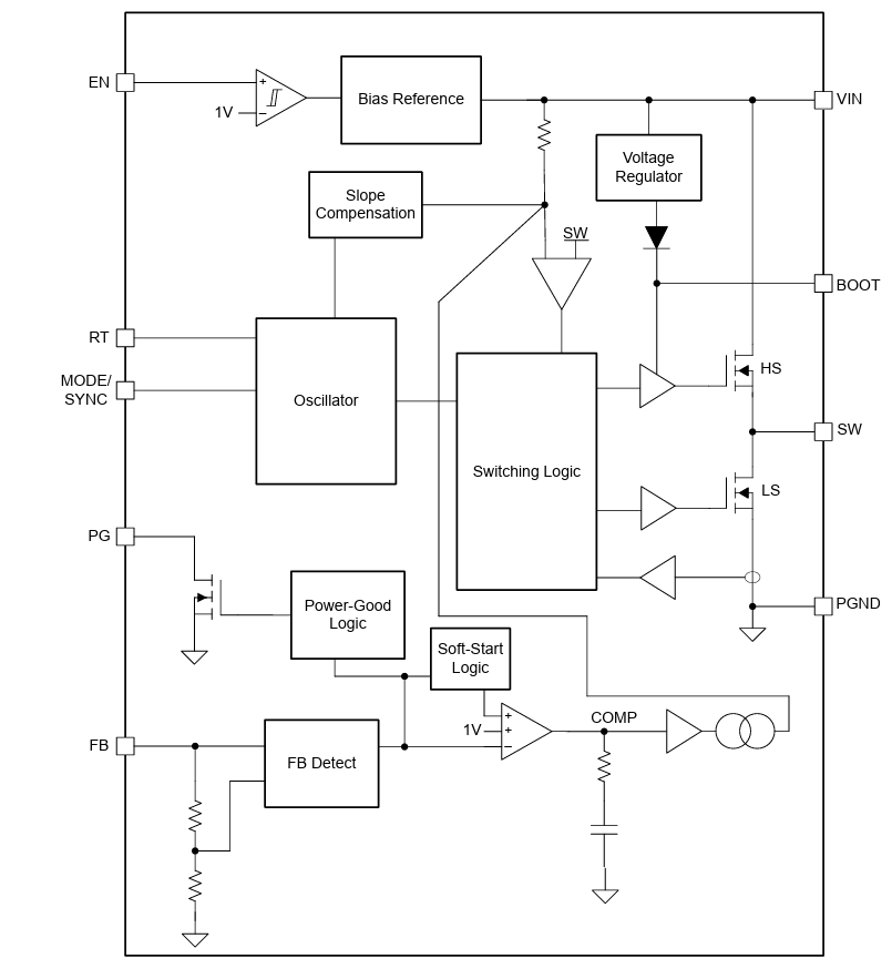
方框图
发布日期: 2025-09-19
| 更新日期: 2025-09-30
