Texas Instruments LMx24x/LMx24x-Q1和LM2902x/LM2902x-Q1运算放大器可以简化电路设计,具有增强特性,例如单位增益稳定性、最高3mV的低失调电压(LM324BA和LM2902BA最高为2mV)以及每个放大器低至240µA(典型值)的静态电流。LMx24x/LMx24x-Q1和LM2902x/LM2902x-Q1器件具有高ESD(2kV、HBM)以及集成EMI和射频滤波器,因此可以用于条件最恶劣、最具环境挑战性的应用。LMx24x-Q1和LM2902x-Q1器件符合汽车应用类AEC-Q100认证。
特性
- 宽电源电压范围:3V至36V(B、BA版本)
- 低输入失调电压:±2mV(最大值,25°C时)(BA版本、LM2902A、LM124A)
- ESD保护:2kV (HBM)(B、BA、K版本)
- 内部射频和EMI滤波器(B、BA版本)
- 共模输入电压范围包括V–
- 输入电压差分可驱动高达电源电压
- 在符合MIL-PRF-38535标准的产品上,所有参数均经过测试,除非另有说明。
- 生产工艺不一定包括测试其他所有产品上的所有参数
应用
- 商户网络和服务器电源单元
- 多功能打印机
- 电源和移动充电器
- 台式电脑和主板
- 室内和室外空调
- 洗衣机、烘干机和冰箱
- 交流逆变器、灯串逆变器、中央逆变器和电压频率驱动器
- 不间断电源
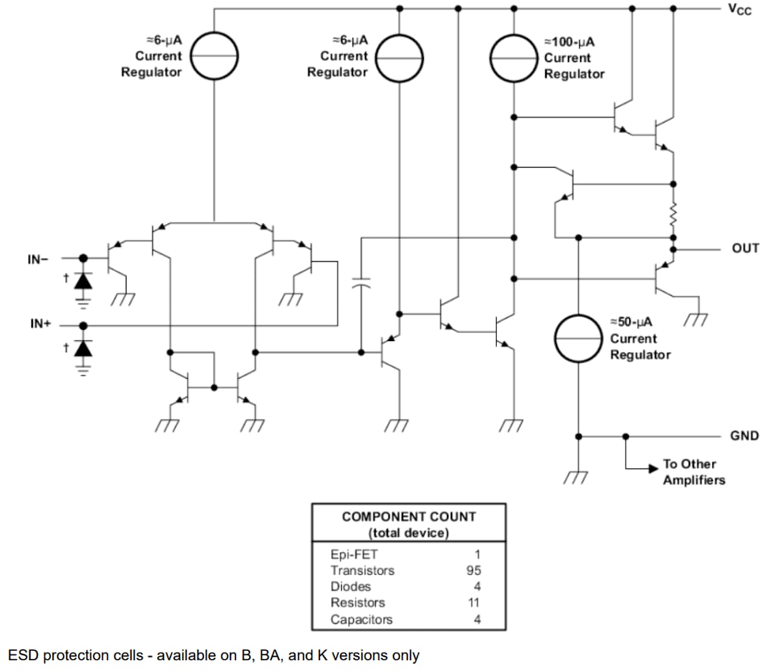
功能框图
发布日期: 2022-11-09
| 更新日期: 2025-06-06

