Texas Instruments LP87322E/F-Q1电源管理IC (PMIC)
Texas Instruments LP87322E/F-Q1电源管理IC (PMIC) 设计用于满足汽车摄像头和雷达应用中最新处理器和平台的电源管理要求。该PMIC包含两个降压直流-直流转换器、两个线性稳压器和通用数字输出信号。该器件通过兼容I2C的串行接口和使能信号进行控制。自动PWM/PFM(自动模式)操作可在宽输出电流范围内发挥高效率。LP87322E/F-Q1支持远程电压传感,以便补偿调节器输出与负载点 (POL) 之间的IR压降,从而提高输出电压的精度。此外,可以使开关时钟强行进入PWM模式,并且同步到外部时钟以最大限度地降低干扰。The automatic PWM/PFM (AUTO mode) operation gives high efficiency over a wide output current range. The Texas Instruments LP87322E/F-Q1 supports remote voltage sensing to compensate for IR drop between the regulator output and the point-of-load (POL), thus improving the accuracy of the output voltage. In addition, the switching clock can be forced to PWM mode and synchronized to an external clock to minimize the disturbances.
特性
- 具有符合AEC-Q100标准的下列特性:
- 器件温度等级1:-40°C至+125°C的环境工作温度范围
- 输入电压:2.8V至5.5V
- 两个高效降压直流-直流转换器
- 输出电压:0.7V至3.36V
- 最大输出电流:2A
- 可编程输出电压转换率:0.5mV/µs至10mV/µs
- 开关频率:2MHz
- 扩频模式和相位交错,从而降低EMI
- 两个线性稳压器
- 输入电压:2.5V至5.5V
- 输出电压:0.8V至3.3V
- 最大输出电流:300mA
- 可配置通用输出信号(GPO、GPO2)
- 中断功能,具有可编程屏蔽
- 可编程电源正常信号 (PGOOD)
- 输出短路和过载保护
- 过温警告和保护
- 过压保护 (OVP) 和 欠压锁定 (UVLO)
- 28 引脚、 5mm×5mm VQFN 封装,带可湿性侧翼
应用
- 汽车音响主机和集群
- 汽车摄像头模块
- 环视系统ECU
- 雷达系统ECU
- 汽车显示屏
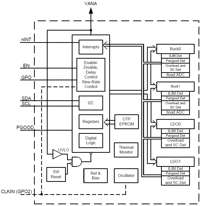
功能框图
发布日期: 2018-04-16
| 更新日期: 2022-12-01
