借助自动PWM/PFM(自动模式)运行以及自动相位增加/减少特性,可在较宽输出电流范围内最大限度地提高效率。LP8732xx-Q1/LP8733xx-Q1支持远程电压检测(双相配置差分),可补偿稳压器输出与负载点 (POL) 之间的IR压降, 从而提高输出电压的精度。另外,可以强制开关时钟进入PWM模式并将其与外部时钟同步,从而最大限度地降低干扰。
LP8732xx-Q1/LP8733xx-Q1器件支持可编程启动和关断延迟与排序(包括与使能信号同步的GPO信号)。在启动和电压变化期间,该器件可对输出转换率进行控制,从而最大限度地减小输出电压过冲和浪涌电流。
特性
- 具有符合AEC-Q100标准的下列特性:
- 器件温度等级1:-40°C至+125°C的环境工作温度范围
- 输入电压:2.8V至5.5V
- 两个高效降压直流/直流转换器
- 输出电压:0.7V至3.36V
- 每相最大输出电流:2A (LP8732xx-Q1) 或3A (LP8733xx-Q1)
- 采用两相配置的自动相位增加/减少和强制多相操作
- 采用两相配置的远程差分反馈电压检测
- 可编程输出电压转换率:0.5mV/µs至10mV/µs
- 开关频率:2MHz
- 扩频模式和相位交错,从而降低EMI
- 两个线性稳压器
- 输入电压:2.5V至5.5V
- 输出电压:0.8V至3.3V
- 最大输出电流:300mA
- 可配置通用输出信号(GPO、GPO2)
- 中断功能,具有可编程屏蔽
- 可编程电源正常信号 (PGOOD)
- 输出短路和过载保护
- 过温警告和保护
- 过压保护 (OVP) 和 欠压锁定 (UVLO)
- 28 引脚、 5mm×5mm VQFN 封装,带可湿性侧翼
应用
- 汽车音响主机和集群
- 汽车摄像头模块
- 环视系统ECU
- 雷达系统ECU
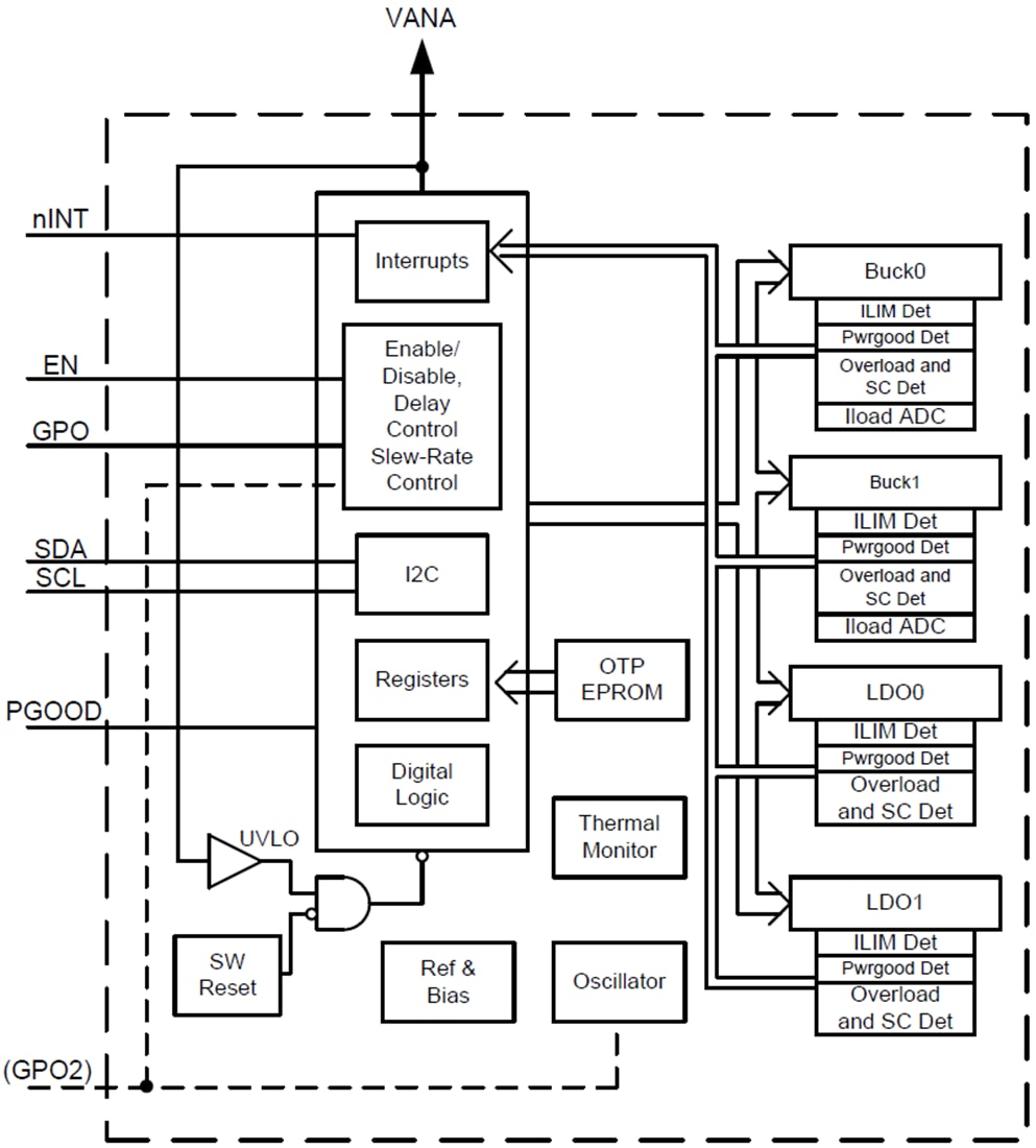
功能框图
发布日期: 2018-10-31
| 更新日期: 2023-07-18

