Texas Instruments LP87334ERHDR双路降压转换器和稳压器
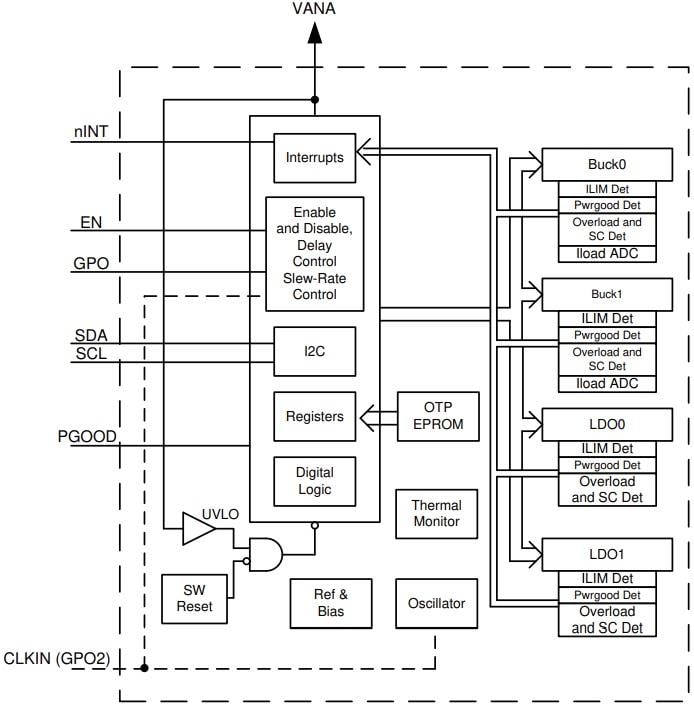
Texas Instruments LP87334ERHDR双降压转换器和稳压器设计用于满足工业应用中的电源管理要求。该器件具有两个降压DC/DC转换器(可配置为单个双相稳压器/两个单相稳压器)、两个线性稳压器和两个通用数字输出信号。LP87334ERHDR双高电流降压转换器和双线性稳压器由 I²C 兼容串行接口和使能信号控制。该降压转换器支持可编程启动和关闭延迟和序列,包括与使能信号同步的 GPO 信号。LP87334ERHDR稳压器提供输出短路和过载保护、过热警告和保护、过压保护 (OVP) 和欠压锁定 (UVLO)。该稳压器适用于测试和测量设备工业应用。特性
- 两个高效降压DC-DC转换器:
- 输出电压:0.7V至3.36V
- 3A最大输出电流
- 可编程输出电压转换速率范围为0.5mV/µs至10mV/µs
- 开关频率:2MHz
- 扩频模式和相位交错,从而降低EMI
- 两个线性稳压器
- 2.5V 到 5.5V 的输入电压
- 输出电压:0.8V至3.3V
- 300mA最大输出电流
- 2.8V 到 5.5V 的输入电压范围
- 可配置的通用输出信号(GPO、 GPO2)
- 中断功能,具有可编程屏蔽
- 可编程电源正常信号 (PGOOD)
- 输出短路和过载保护
- 过温警告和保护
- 过压保护 (OVP) 和欠压锁定 (UVLO)
- 28引脚、5mm×5mm VQFN封装,带可湿性侧翼
应用
- 工业电器
- 测试与测量
- 工业应用
功能框图
示意图
发布日期: 2024-01-09
| 更新日期: 2024-01-18
