特性
- 符合汽车应用标准
- 具有符合AEC-Q100标准的下列结果:
- 器件温度等级1:-40°C至+125°C的环境工作温度范围
- 器件人体模型 (HBM) 静电放电 (ESD) 分类等级2
- 器件充电器件模型 (CDM) ESD分类等级C4B
- 输入电压:2.8V至5.5V
- 输出电压:0.6V至3.36V
- 四个高效降压直流/直流转换器内核
- 最大输出电流:16A(4A/相)
- 可编程输出电压转换率:0.5mV/µs至10mV/µs
- 开关频率:2MHz
- 扩频模式和相位交错
- 可配置通用I/O (GPIO)
- I2C兼容接口,支持标准 (100kHz)、快速 (400kHz)、超快速(1MHz) 和高速 (3.4MHz) 等模式
- 中断功能,具有可编程屏蔽
- 可编程电源正常信号 (PGOOD)
- 输出短路和过载保护
- 过温警告和保护
- 过压保护 (OVP) 和 欠压锁定 (UVLO)
应用
- 汽车信息娱乐、仪表盘、雷达和摄像头电源应用
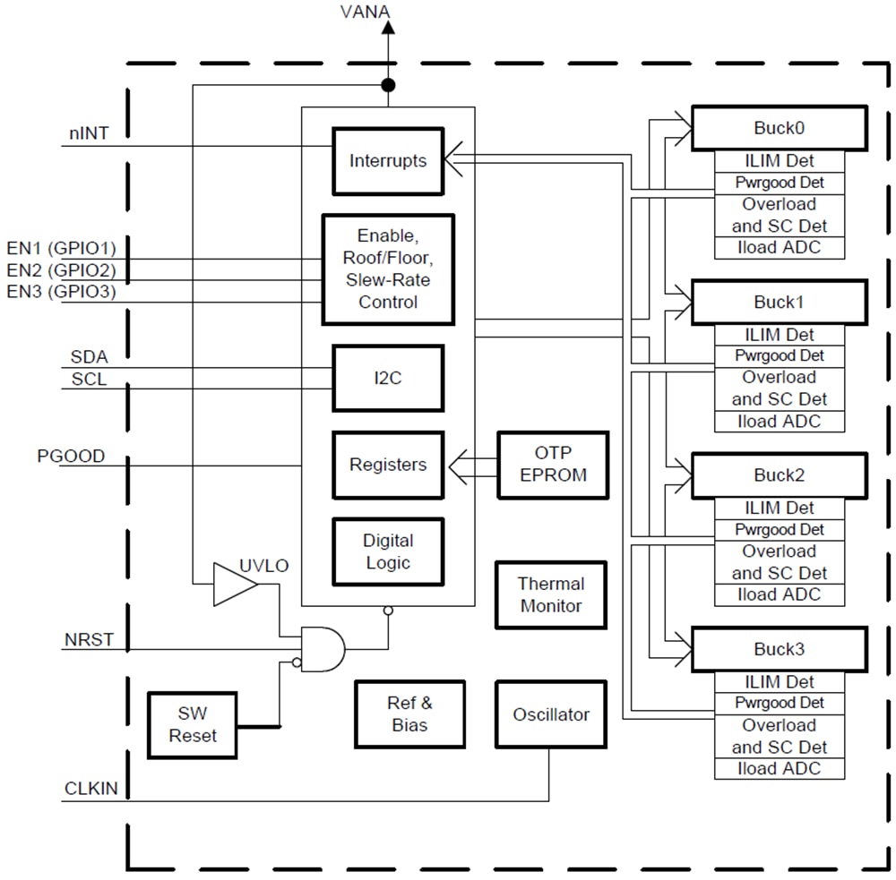
功能框图
发布日期: 2018-08-23
| 更新日期: 2025-03-10

