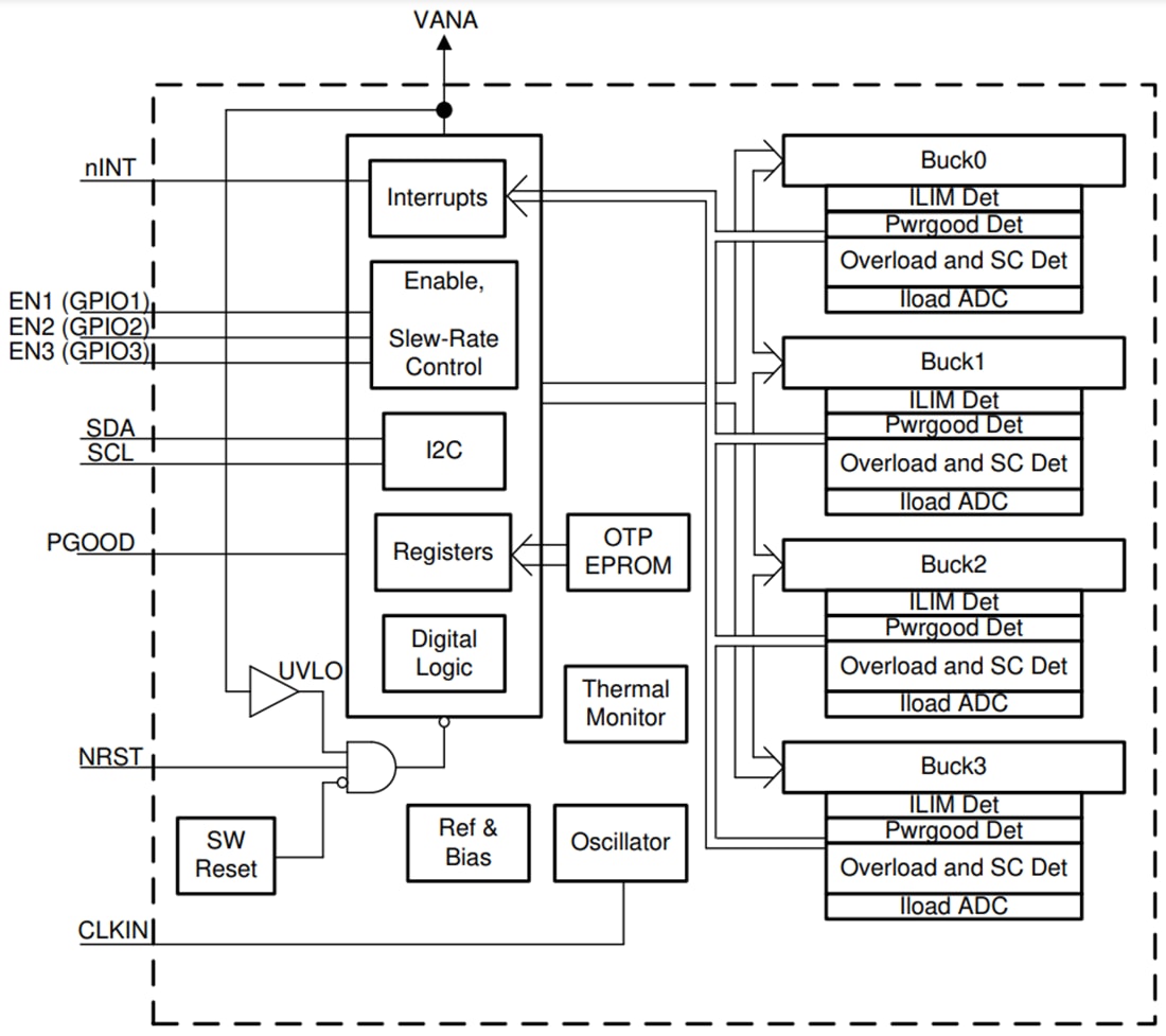
Texas Instruments LP875761-Q1支持负载电流测量,无需添加外部电流检测电阻器。LP875761-Q1器件还支持可编程启动和关断延迟与排序(与使能信号同步)。这些序列还可包括用于控制外部稳压器、负载开关和处理器复位的GPIO信号。在启动期间,该器件可对输出转换率进行控制,从而最大限度地减小输出电压过冲和浪涌电流。
特性
- 符合汽车应用标准
- 下列性能符合AEC-Q100标准:
- 环境工作温度1级:–40°C至+125°C
- 器件人体模型 (HBM) 静电放电 (ESD) 分类等级2
- 器件CDM ESD分类等级C4B
- 2.8V到5.5V输入电压
- 输出电压:1.0V
- 四个高效降压直流/直流转换器内核
- 最大输出电流:16A(4A/相)
- 开关频率:3MHz
- 扩频模式和相位交错
- 可配置通用I/O (GPIO)
- I2C兼容接口,支持标准 (100kHz)、快速 (400kHz)、快速+ (1MHz) 和高速 (3.4MHz) 模式
- 中断功能,具有可编程屏蔽
- 可编程电源正常信号 (PGOOD)
- 输出短路和过载保护
- 过温警告和保护
- 过压保护 (OVP) 和欠压锁定 (UVLO)
应用
- 汽车信息娱乐
- 仪表组
- 雷达
- 摄像头电源应用
功能框图
发布日期: 2021-02-10
| 更新日期: 2022-03-11

