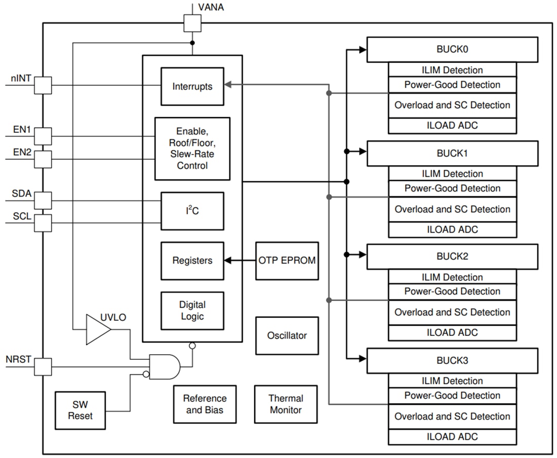
保护功能包括短路保护、电流限制、输入电源UVLO以及温度警告和关机功能。为设备状态信息提供了多个错误标志。此外,LP8758-E3器件还支持负载电流测量,无需添加外部电流检测电阻。在启动和电压变化期间,该器件可控制输出转换速率,以尽量减少输出电压过冲和浪涌电流。
特性
- 完全集成的四通道降压转换器,每个降压转换器可编程最大输出电流高达4 A
- 自动PWM-PFM和强制PWM操作
- 可编程输出电压转换率:30mV/µs至0.5mV/µs
- 输入电压范围:2.5 V至5.5 V
- DVS VOUT 范围:0.5V至3.36V
- 带使能信号的可编程启动和关闭排序
- I2C兼容接口,支持标准(100 kHz)、快速(400 kHz)、快速+ (1 MHz)和高速(3.4 MHz)模式
- 中断功能,具有可编程屏蔽
- 负载电流测量
- 输出短路和过载保护
- 扩频功能模式,用于降低EMI
- 四个降压内核的运行90°相位不一致,从而降低了输入纹波电流
- 过温警告和保护
- 欠压闭锁 (UVLO)
应用
- 光学模块
- 无人机系统
- 智能手机、电子书和平板电脑
- 固态硬盘
功能框图
发布日期: 2020-05-29
| 更新日期: 2024-06-20

