Texas Instruments LP87702-Q1双路降压转换器
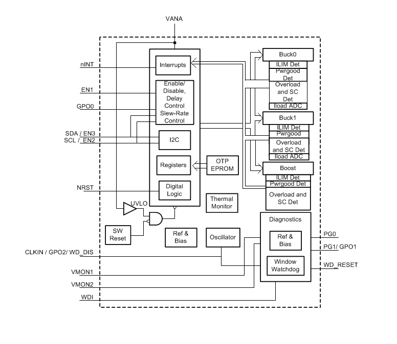
Texas Instruments LP87702-Q1双路降压转换器设计用于满足汽车雷达/摄像头和工业雷达应用的电源管理平台要求。LP87702-Q1集成有两个降压直流/直流转换器、一个5V升压转换器/旁路开关、两个电压监视输入(用于外部电源)和一个窗口看门狗。该器件通过兼容I2C的串行接口供电,通过使能信号进行控制。自动PWM/PFM(自动模式)操作可在宽输出电流范围内发挥高效率。由于LP8770器件的内部电路专门设计用于支持电流测量,所以无需外部电阻器。该器件既支持通用数字输出,又支持同步至使能信号的可编程启动/关断序列。LP87702-Q1器件符合AEC-Q100汽车应用认证。特性
- 符合汽车应用类AEC-Q100标准:
- 器件温度等级1:-40°C至+125°C,TA
- 两个高效降压直流/直流转换器:
- 最大输出电流:3.5A
- 开关频率:2MHz、3MHz或4MHz
- 自动PWM/PFM和强制PWM操作
- 输出电压:0.7V至3.36V
- 5V升压转换器,带旁路模式选项:
- 最大输出电流:600mA
- 两个输入,用于外部电压监控
- 中断功能,具有可编程屏蔽
- 输出短路和过载保护
- 过温警告和保护
- 两个可编程电源良好信号
- 专用基准电压,用于诊断
- 窗口看门狗,具有复位输出
- 外部时钟输入,同步开关
- 扩频调制
- 可编程启动和关闭延迟和排序,具有使能信号
- 可配置通用输出 (GPO)
- I2C兼容接口,支持标准 (100kHz)、快速 (400kHz)、超快速(1MHz) 和高速 (3.4MHz) 等模式
- 过压保护 (OVP) 和 欠压锁定 (UVLO)
应用
- 汽车雷达
- 汽车摄像头
- 汽车传感器融合
- 工业雷达
- 楼宇自动化
Datasheets
框图
发布日期: 2018-08-24
| 更新日期: 2024-01-29
