特性
- FMCW收发器
- 集成式PLL、发送器、接收器、基带和A2D
- 60GHz至64GHz工作频带,4GHz连续带宽
- 四个接收通道
- 三个发射通道
- 支持6位移相器,用于TX波束形成
- 基于小数N分频PLL的超精准线性调频引擎
- TX功率:12dBm
- RX噪声系数:12dB
- 相位噪声:–93dBc/Hz(1MHz时)
- 内置校准和自检
- 基于Arm® Cortex®-R4F的无线电控制系统
- 内置固件 (ROM)
- 在整个频率和温度范围内的自校准系统
- C674x DSP,用于高级信号处理(仅限IWR6843)
- 硬件加速器,用于FFT、滤波和CFAR处理
- 内存压缩
- ARM-R4F微控制器,用于目标检测和接口控制
- 支持自主模式(从QSPI闪存加载用户应用程序)
- 内部存储器(带ECC)
- IWR6843 - 1.75MB,分为MSS程序RAM (512KB)、MSS数据RAM (192KB)、DSP L1 RAM (64KB) 和L2 RAM (256KB) 以及L3雷达数据立方RAM (768KB)
- IWR6443 - 1.4MB,分为MSS程序RAM (512KB)、MSS数据RAM (192KB) 和L3雷达数据立方RAM (768KB)
- 技术参考手册包括允许的尺寸修改
- 可用于用户应用的其他接口
- 多达6个ADC通道(低采样率监控)
- 多达2个SPI端口
- 2个UART
- 1个CAN-FD接口
- I2C
- GPIO
- 2通道LVDS接口,用于原始ADC数据和调试仪器
- 针对功能安全标准
- 开发用于功能安全应用
- 可提供文档,协助IEC 61508功能安全系统设计
- 硬件完整性达到SIL-2标准
- 安全相关认证
- 计划通过TUV Sud IEC 61508认证
- 电源管理
- 用于增强PSRR的内置LDO网络
- I/O支持双电压3.3V/1.8V
- 时钟源
- 带内部振荡器的40.0MHz晶振
- 支持40MHz外部振荡器
- 支持40MHz外部驱动时钟(方波/正弦波)
- 简单的硬件设计
- 0.65mm脚距、161引脚10.4mm × 10.4mm覆晶法BGA封装,可实现易于组装和低成本的PCB设计
- 小尺寸解决方案
- 工作条件
- 结温范围:–40ºC至+105ºC
应用
- 用于测量距离、速度和角度的工业传感器
- 楼宇自动化
- 位移检测
- 手势识别
- 机器人
- 交通监控
- 接近和位置传感
- 安防与监控
- 工厂自动化安全防护装置
- 人数统计
- 运动检测
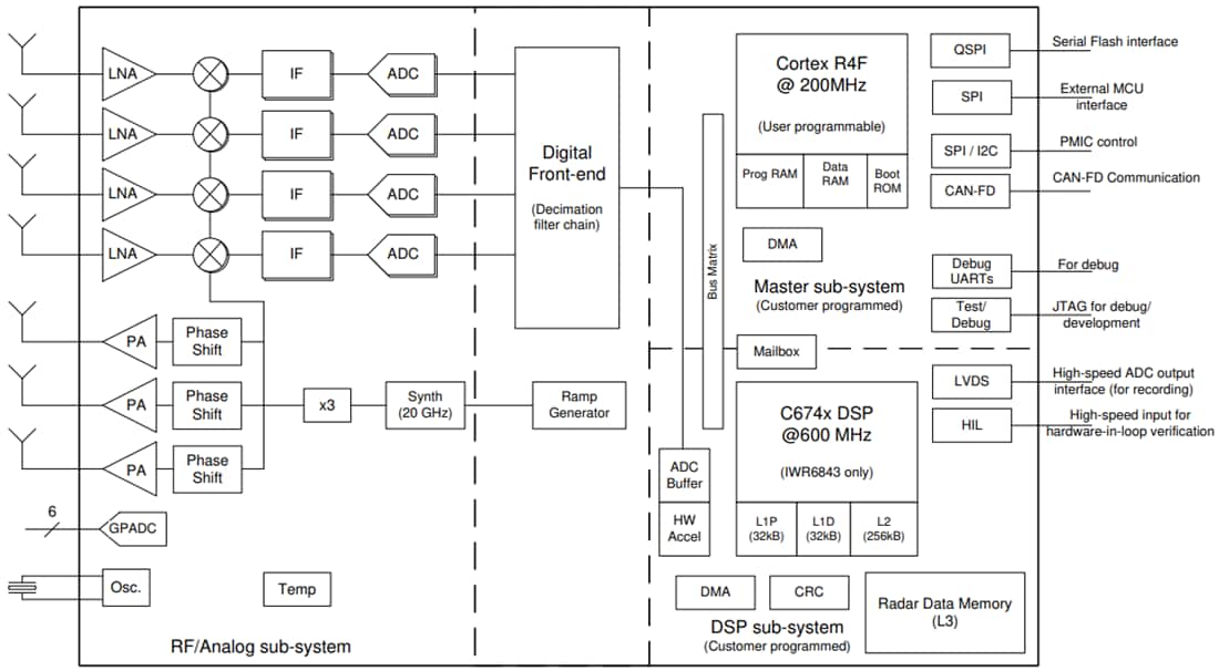
功能框图
发布日期: 2019-11-06
| 更新日期: 2024-09-16

