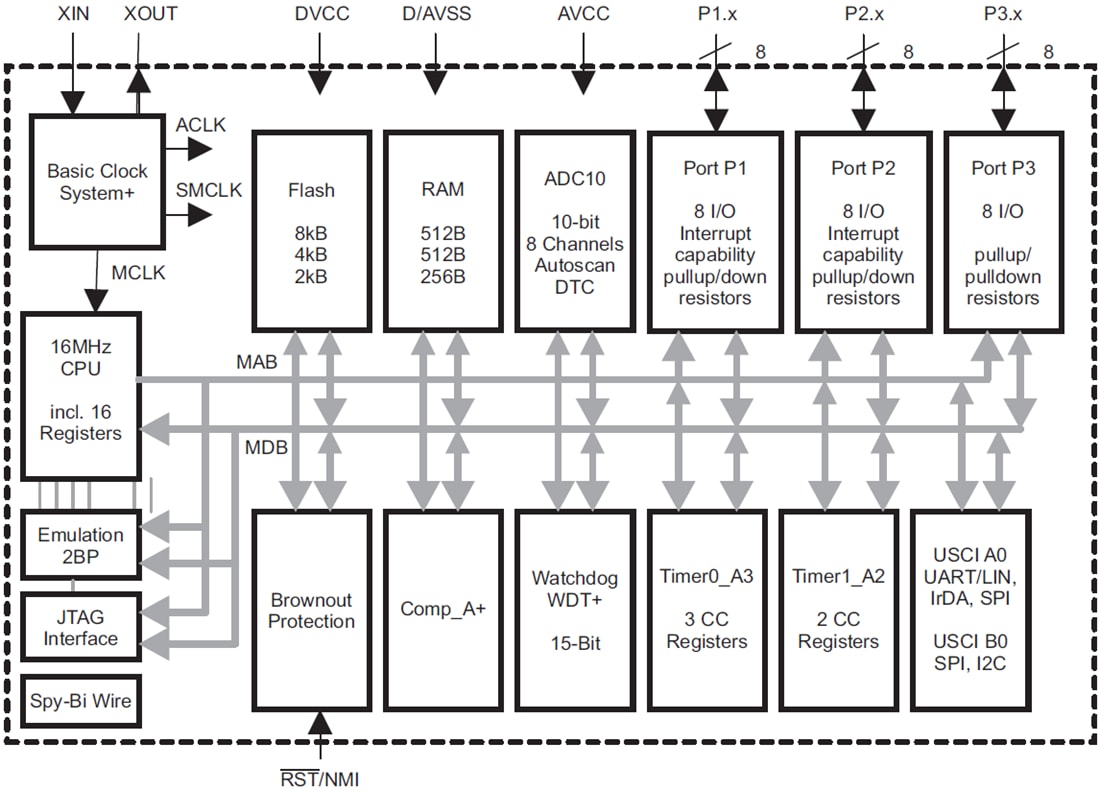
MSP430F21x2配有两个内置16位定时器、一个快速10位模数转换器(集成基准)和一个数据传输控制器 (DTC)。它还包括一个比较器,通过通用串行通信接口具备内置通信能力,设有多达24个I/O引脚。MSP430F21x2-EP器件采用金丝键合线,工作温度范围为–55°C至+105°C,具有镀锡铅引线涂层。
特性
- 低电源电压范围:1.8V至3.6V
- 超低功耗
- 主动模式:250µA(1MHz、2.2V)
- 待机模式:0.7µA
- 关闭模式(RAM保持):0.1µA
- 在1µs内从待机模式超快唤醒
- 16位RISC架构, 62.5ns指令周期时间
- 基本时钟模块配置
- 内部频率高达16MHz,四个校准后频率至±1%
- 内部非常低功耗、低频率振荡器
- 32kHz晶体
- 高频 (HF) 晶体,高达16MHz
- 谐振器
- 外部数字时钟源
- 外部电阻
- 16位计时器0_A3,包含三个采集/比对寄存器
- 16位计时器_A2,带两个采集/比较寄存器
- 片上比较器,用于模拟信号比较功能或斜率模数 (A/D) 转换
- 10位200ksps模数转换器,具备内部参考、采样和保持、自动扫描和数据传输控制器
- 通用串行通信接口
- 增强型UART支持自动波特率检测 (LIN)
- IrDA编解码器
- 同步SPI
- I2C™
- 欠压检测器
- 串行板载编程、无需外部编程电压、安全熔丝可编程代码保护
- 引导加载器
- 片上仿真模块
- 系列成员包括
- MSP430F2132:8KB + 256B闪存、512B RAM
- MSP430F2122:4KB + 256B闪存、512B RAM
- MSP430F2112:2KB + 256B闪存、256B RAM
- 采用28引脚TSSOP (PW) 和32引脚QFN(RHB或RTV)封装
功能框图
发布日期: 2019-01-25
| 更新日期: 2025-06-06

