Texas Instruments MSP430F261x/MSP430F241x混合信号MCU
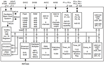
Texas Instruments MSP430F261x/MSP430F241x混合信号微控制器(MCU)属于MSP430™ 系列超低功耗MCU。这些MCU由多个器件组成,具备不同的外设组合,以满足各种应用需求。这种架构与5种低功耗模式相结合,经优化能够延长便携式测量设备中的电池寿命。Texas Instruments MSP430F261x/MSP430F241x系列是MCU配置,具有两个内置16位定时器、一个快速12位ADC、一个比较器、两个12位DAC、四个USCI模块、DMA和多达64个I/O引脚。MSP430F241x器件与MSP430F261x器件相同,但DAC12和DMA模块未实施除外。LQFP-64封装也可用作医学成像应用的非磁性封装。特性
- 电源电压范围:1.8 V至3.6 V
- 超低功耗
- 活动模式:365µA(1MHz、2.2V时)
- 待机模式 (VLO):0.5μA
- 关断模式:0.1μA(RAM保留)
- 从待机模式到唤醒:小于1µs
- 16位RISC架构,62.5ns指令周期时间
- 三通道内部 DMA(仅限MSP430F261x)
- 12位模数转换器 (ADC),具有内部基准、采样保持和自动扫描功能
- 具有同步功能的双通道12位数模转换器 (DAC)(仅MSP430F261x)
- 16位计时器_A,带三个采集/比对寄存器
- 16位计时器_B,带七个捕获/比较影子寄存器
- 片上比较器
- 电源电压监控器和监视器,具有可编程电平检测功能
- 四个通用串行通信接口 (USCI)
- USCI_A0和USCI_A1
- 支持自动波特率侦测的增强型UART
- IrDA编码器和解码器
- 同步SPI
- USCI_B0 及 USCI_B1
- I2C
- 同步 SPI
- USCI_A0和USCI_A1
- 欠压探测器
- 引导加载程序 (BSL)
- 串行板载编程、无需外部编程电压、安全熔丝可编程代码保护
- 采用80引脚四方扁平封装 (LQFP)、64引脚LQFP和113引脚球栅阵列 (nFBGA)
应用
- 传感器系统
- 工业控制应用
- 手持计量仪表
- 医疗成像应用
发布日期: 2020-05-27
| 更新日期: 2025-04-16
