Texas Instruments MSP430F552x/MSP430F551x固定信号MCU
Texas Instruments MSP430F552x/MSP430F551x混合信号微控制器(MCU)是一款超低功耗MCU,配有集成USB和支持USB 2.0的PHY,以及四个16位定时器。这些器件包括一个高性能12位模数转换器(ADC)、两个USCI、一个硬件乘法器、DMA和一个带报警功能的RTC模块。MSP430F5528、 MSP430F5526、 MSP430F5524和MSP430F5522微控制器包含所有这些外设,但有47个I/O引脚。Texas Instruments MSP430F552x/MSP430F551x具有功能强大的16位RISC CPU、16位寄存器和常量发生器,有助于最大限度地提高代码效率。数字控制振荡器(DCO)可使器件在3.5µ秒(典型值)内从低功耗模式唤醒至工作模式。特性
- 低电源电压范围:3.6 V低至1.8 V
- 超低功耗
- 有源模式(AM)
- 所有系统时钟都处于激活状态
- 在8MHz、3.0V下执行闪存程序时,功耗为290µA/Mhz(典型值)
- DAM程序执行:150µA/MHz(典型值,8MHz,3.0V时)
- 所有系统时钟都处于激活状态
- 待机模式 (LPM3)
- 实时时钟 (RTC),晶振、看门狗和电源监控器可用,全面RAM保持,快速唤醒
- 2.9µA(2.2V时),2.1µA(3.0V时,典型值)
- 低功耗振荡器(VLO)、通用计数器、看门狗和电源监控器可用,全面RAM保持,快速唤醒
- 1.4µA(3.0V时,典型值)
- 实时时钟 (RTC),晶振、看门狗和电源监控器可用,全面RAM保持,快速唤醒
- 关闭模式(LPM4)
- 全面RAM保持,电源监控器可用,快速唤醒
- 1.1µA(3.0V时,典型值)
- 全面RAM保持,电源监控器可用,快速唤醒
- 关断模式(LPM4.5)
- 0.18µA(3.0V时,典型值)
- 有源模式(AM)
- 从待机模式唤醒:3.5µs(典型值)
- 16位精简指令集计算机 (RISC) 架构,扩展内存,高达25MHz的系统时钟
- 灵活的功率管理系统
- 完全集成的LDO,有可编程稳压核心电源电压
- 电源电压监视、监控和掉电
- 统一的时钟系统
- FLL控制回路,实现频率稳定化
- 低功耗、低频率内部时钟源(VLO)
- 低频微调内部基准源(REFO)
- 32 kHz钟表晶体 (XT1)
- 高频晶体,最高可达32MHz (XT2)
- 16位计时器TA0、Timer_A,带五个捕获/比较寄存器
- 16位计时器TA1、Timer_A,带三个捕获/比较寄存器
- 16位计时器TA2、Timer_A,带三个捕获/比较寄存器
- 16位计时器TB0、Timer_B,带七个捕获/比较影子寄存器
- 2个通用串行通信接口 (USCI)
- USCI_A0和USCI_A1均支持
- 增强型UART支持自动波特率侦测
- IrDA编码器和解码器
- 同步SPI
- USCI_B0和USCI_B1均支持
- I2C
- 同步 SPI
- USCI_A0和USCI_A1均支持
- 全速通用串行总线(USB)
- 集成的USB-PHY
- 集成3.3V和1.8V USB电源系统
- 集成的USB-PLL
- 八个输入和八个输出端点
- 12位模数转换器 (ADC)(仅限MSP430F552x),具有内部基准、采样保持和自动扫描功能
- 比较器
- 硬件倍增器支持32位运算
- 串行板载编程、无需外部编程电压
- 3通道内部DMA
- 基本定时器,具有RTC功能
应用
- 模拟和数字传感器系统
- 数据记录仪
- 连接USB主机
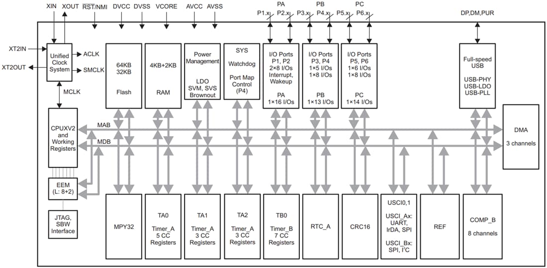
MSP430F551x PN封装框图
MSP430F551x ZXH ZQE RGC封装框图
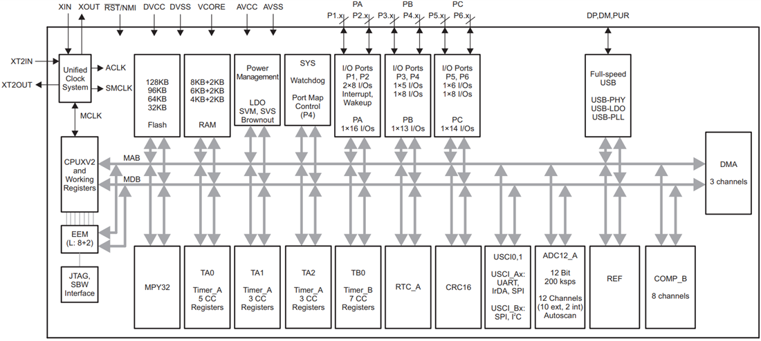
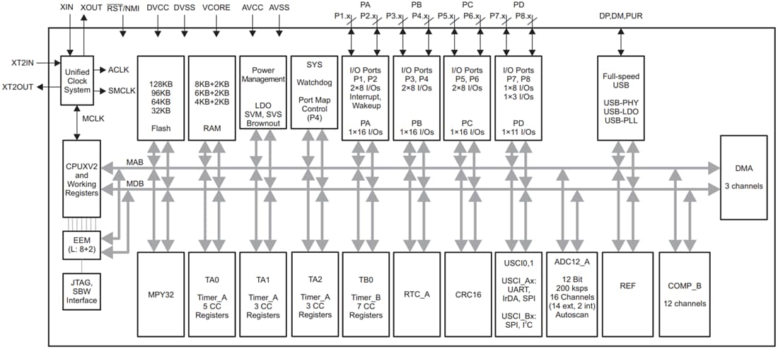
MSP430F552x PN封装框图
MSP430F552x ZXH ZQE RGC封装框图
发布日期: 2020-09-29
| 更新日期: 2025-04-16
