TI MSP430F563x混合信号微控制器具有一个高性能12位ADC、一个比较器、两个USCI、USB 2.0、一个硬件乘法器、DMA、四个16位定时器、一个具有报警功能的RTC模块以及多达74个I/O引脚。
特性
- 低电源电压范围:1.8V至3.6V
- 超低功耗
- 有源模式 (AM):
- 所有系统时钟有源:270µA/MHz(8MHz、3.0V、闪存程序执行时,典型值)
- 待机模式 (LPM3):
- 看门狗(带晶体和电源监控器运行)、完全RAM保持、快速唤醒1.8µA(2.2V时)、2.1µA(3.0V)(典型值)
- 关断实时时钟 (RTC) 模式(LPM3.5):1.1µA (3.0V时,典型值)关断模式,有源RTC(带晶体)
- 关断模式 (LPM4.5):0.3µA(3.0V时,典型值)
- 有源模式 (AM):
- 待机模式唤醒:3µs(典型值)
- 16位精简指令集计算机 (RISC) 架构,扩展内存,高达20MHz的系统时钟
- 灵活的功率管理系统
- 完全集成的LDO,有可编程稳压核心电源电压
- 电源电压监视、监控和掉电
- 统一的时钟系统
- FLL控制回路,实现频率稳定化
- 低功耗、低频率内部时钟源(VLO)
- 低频微调内部基准源(REFO)
- 32kHz晶振 (XT1)
- 高达32MHz的高频晶振(XT2)
- 4个16位定时器,配有3、5或7个捕捉/比较寄存器
- 2个通用串行通信接口 (USCI)
- USCI_A0和USCI_A1均支持-增强型UART支持自动波特率检测、IrDA编码器和解码器、同步SPI
- USCI_B0和USCI_B1,每个都支持I2C和同步SPI:
- 全速通用串行总线(USB)
- 集成的USB-PHY
- 集成3.3V和1.8V USB电源系统
- 集成的USB-PLL
- 八个输入和八个输出端点
- 12位模数转换器(ADC),具有内部共享基准、采样保持和自动扫描功能
- 具有同步功能的双通道12位数模转换器 (DAC)
- 电压比较器
- 硬件倍增器支持32位运算
- 串行板载编程、无需外部编程电压
- 6通道内部DMA
- RTC模块,带电源电压备用开关
应用
- 模拟和数字传感器系统
- 数字电机控制
- 遥控器
- 恒温器
- 数字计时器
- 手持计量仪表
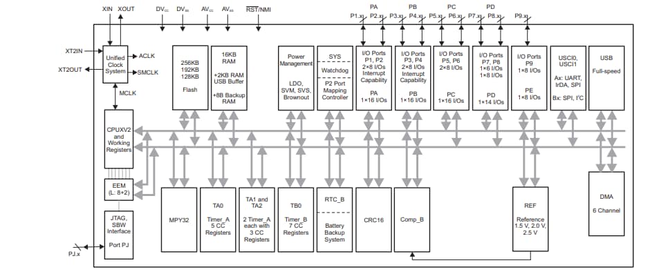
MSP430F5630/31/32框图
MSP430F5633/34/35框图
MSP430F5636/37/38 方框图
发布日期: 2020-10-20
| 更新日期: 2025-07-31

