MSP430FR215x和MSP430FR235x MCU均支持扩展温度范围(-40°C至105°C),因此更高温度的工业应用可从这些器件的FRAM数据记录功能受益。扩展温度范围让开发人员可以满足烟雾探测器、传感器发射器和断路器等应用的要求。
特性
- 嵌入式微控制器
- 16位RISC架构,高达24MHz
- 扩展温度范围:–40°C至105°C
- 宽电源电压范围:3.6V至1.8V
- 经优化的低功耗模式(3V时)
- 工作模式:142µA/MHz
- 待机
- LPM3,32768Hz晶体:1.43µA(SVS启用)
- LPM3.5,32768Hz晶体:620nA(SVS启用)
- 关断 (LPM4.5):42nA(SVS禁用)
- 低功耗铁电RAM (FRAM)
- 高达32KB的非易失性存储器
- 内置错误修正码 (ECC)
- 可配置写保护
- 程序、常量和存储的统一内存
- 1015写入周期持久性
- 抗辐射和非磁性
- 易于使用
- 20KB ROM库包括驱动程序库和FFT库
- 高性能模拟
- 一个12通道12位模数转换器 (ADC)
- 两个增强型比较器 (eCOMP)
- 四个智能模拟组合 (SAC-L3) (仅MSP430FR235x器件)
- 智能数字外设
- 三个16位计时器,带三个捕捉/比较寄存器 (Timer_B3)
- 一个16位计时器,每个有七个捕获/比较寄存器 (Timer_B7)
- 一个16位仅用作计数器的实时时钟计数器 (RTC)
- 16位循环冗余校验器 (CRC)
- 中断比较控制器 (ICC),实现嵌套硬件中断
- 32位硬件乘法器 (MPY32)
- 曼彻斯特编解码器 (MFM)
- 增强型串行通信
- 两个增强型USCI_A (eUSCI_A) 模块支持UART、IrDA和SPI
- 两个增强型USCI_B (eUSCI_B) 模块支持SPI和I2C
- 时钟系统 (CS)
- 通用输入/输出和引脚功能
- 封装选项
- 48引脚:LQFP (PT)
- 40引脚:VQFN (RHA)
- 38引脚:TSSOP (DBT)
应用
- 烟雾和热探测器
- 传感器发射器
- 断路器
- 传感器信号调理
- 有线工业通信
- 光学模块
- 电池组管理
- 收费标志
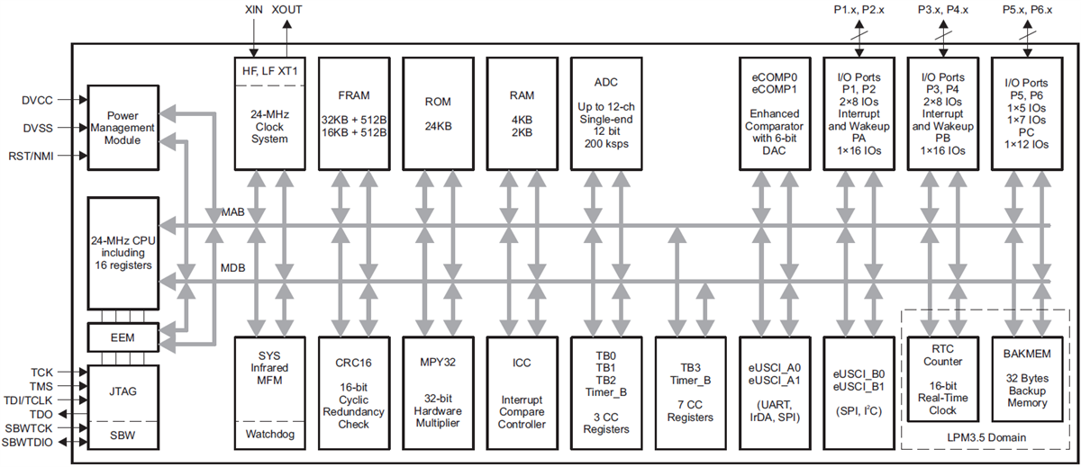
MSP430FR215x框图
MSP430FR235x框图
发布日期: 2018-08-01
| 更新日期: 2025-04-16

