Texas Instruments MSP430FR263x/MSP430FR253x超低功耗MCU
Texas Instruments MSP430FR263x/MSP430FR253x超低功耗微控制器是一款采用CapTIvate触控技术并基于FRAM的超低功耗MSP微控制器。这些微控制器设计用于按钮、滑块、车轮(BSW)和接近应用。CapTIvate技术是市场分辨率最高的电容式触控解决方案,同时具有高可靠性、抗噪音干扰能力以及最低功耗。CapTIvate 技术在同一设计中支持自电容和互电容电极的共存,从而极大地提高了灵活性。利用CapTIvate设计中心,工程师可以快速开发出设有易于使用的GUI的BSW应用。特性
- 嵌入式微控制器:
- 16位RISC架构
- 支持的时钟频率高达16MHz
- 宽电源电压范围(1.8V至3.6V)(最小电源电压受SVS电平限制)
- 优化的超低功耗模式:
- 激活模式:126µA/MHz(典型值)
- 待机电流
- 平均电流为1.7µA/按钮(典型值)(16个自电容式按钮,8Hz扫描)
- 平均电流为1.7µA/按钮(典型值)(64个互电容式按钮,8Hz扫描)
- 采用32768Hz晶振的LPM3.5实时时钟 (RTC) 计数器:770nA(典型值)
- 关断电流 (LPM4.5):15nA(典型值)
- 低功耗铁电RAM (FRAM):
- 高达15.5KB的非易失性存储器
- 内置错误修正码 (ECC)
- 可配置写保护
- 程序、常量和存储的统一内存
- 1015写入周期耐久性
- 抗辐射和非磁性
- 高达4:1的FRAM和SRAM比率
- 智能数字外设:
- 4个16位定时器
- 两个定时器,每个定时器具有三个捕捉/比较寄存器 (Timer_A3)
- 两个定时器,每个定时器具有两个捕捉/比较寄存器 (Timer_A2)
- 一个采用CapTIvate技术的16位定时器
- 一个仅用作计数器的16位RTC
- 16位循环冗余校验 (CRC)
- 4个16位定时器
- 增强型串行通信:
- 两个增强型通用串行通信接口 (eUSCI_A) 支持通用异步收发器 (UART)、红外数据通信 (IrDA) 和串行外设接口 (SPI)
- 一个eUSCI (eUSCI_B) 支持SPI和I2C
- 高性能模拟:
- 8通道10位模数转换器 (ADC)
- 1.5V内部基准电压
- 采样与保持200ksps
- CapTIvate技术 - 电容式触控
- 性能:
- 四路同步快速电极扫描
- 支持点数超过1024的高分辨率滑块
- 30cm接近传感
- 性能:
- 可靠性:
- 提高了针对电力线、射频及其他环境噪声的抗扰度
- 内置扩频、自动调谐、噪声滤波和去抖算法
- 提供可靠的触控解决方案,具有10V均方根 (RMS) 共模噪声、4kV电气快速瞬变以及15kV静电放电,符合IEC‑61000-4-6、IEC-61000-4-4和IEC‑61000-4-2标准
- 通过降低射频辐射简化电气设计
- 支持金属触控和防水设计
- 灵活性:
- 多达16个自电容式电极和64个互电容式电极
- 在同一设计中混合使用自电容式电极和互电容式电极
- 支持多点触控功能
- 宽电容检测范围;0pF至300pF宽电极范围
- 低功耗:
- 触摸唤醒模式下的电流< 0.9µA/按钮,其中电容测量和触控检测由硬件状态机完成,同时CPU处于休眠状态
- 触摸唤醒状态机可在CPU处于休眠状态下进行电极扫描
- 用于环境补偿、滤波和阈值检测的硬件加速
- 易于使用:
- CapTIvate设计中心PC GUI允许工程师对电容按钮进行实时设计和调试,而无需编写代码
- 存储于ROM中的CapTIvate软件库为客户应用提供充足的FRAM
- 易于使用:
- 8通道10位模数转换器 (ADC)
- 时钟系统 (CS):
- 片上32kHz RC振荡器 (REFO)
- 片上16MHz数控振荡器 (DCO),带锁频环 (FLL)
- 室温下的精度为±1%(具有片上基准)
- 片上极低频率10kHz振荡器 (VLO)
- 片上高频调制振荡器 (MODOSC)
- 外部32kHz晶体振荡器 (LFXT)
- 可编程MCLK预分频器(1至128)
- MCLK派生SMCLK,带可编程预分频器(1、2、4或8)
- 通用输入/输出和引脚功能:
- 共计19个I/O(采用TSSOP-32封装)
- 16个中断引脚(P1和P2)可将MCU从低功耗模式中唤醒
- 开发工具和软件
- 易于使用的生态系统
- CapTIvate设计中心 - 代码生成、可定制GUI、实时调节
- 免费的专业开发环境
- 12KB ROM库包括CapTIvate触控库和驱动程序库
- 该系列包括:
- MSP430FR2633:15KB的编程FRAM + 512B的信息FRAM + 4KB的RAM,多达16个自电容和64个互电容传感器
- MSP430FR2533:15KB的编程FRAM + 512B的信息FRAM + 2KB的RAM,多达16个自电容或16个互电容传感器
- MSP430FR2632:8KB的编程FRAM + 512B的信息FRAM + 2KB的RAM,多达8个自电容或16个互电容传感器
- MSP430FR2532:8KB的编程FRAM + 512B的信息FRAM + 1KB的RAM,多达8个自电容或8个互电容传感器
应用
- 恒温器
- 电子门禁控制
- 照明控制
- 电子门锁
- 白色家电
- 小家电
- 个人电子设备
视频
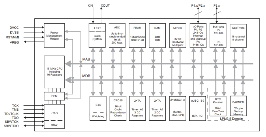
功能框图
发布日期: 2016-02-17
| 更新日期: 2025-04-16
