Texas Instruments OPAx191 36V E-trim 运算放大器
Texas Instruments OPAx191 36V E-trim 运算放大器具有出色的直流精度和交流性能。 这包括轨至轨输入/输出,低失调(±5μV,典型值),低失调漂移(±0.2μV/°C,典型值)和 2MHz 带宽。 这些放大器拥有诸多独一无二的特性,例如电源轨的差分输入电压范围、高输出电流 (±65 mA)、 还有高达 1nF 的高容性负载驱动以及高压摆率 (5V/µs)。 这使得 OPAx191 成为是稳健耐用的高性能运算放大器,适用于各种高压工业应用。 这些器件可采用单通道 (OPA191)、双通道 (OPA2191) 和四通道 (OPA4191) 封装。特性
- ±5µV Low offset voltage
- ±0.1µV/°C Low offset voltage drift
- 15nV/√Hz at 1kHz Low noise
- 140dB High common-mode rejection
- ±5pA Low bias current
- Rail-to-rail input and output
- 2.5MHz GBW wide bandwidth
- 5V/µs High slew rate
- 140µA per Amplifier low quiescent current
- ±2.25V to ±18V, 4.5V to 36V Wide supply
- EMI/RFI Filtered inputs
- Differential input voltage range to supply rail
- 1nF High capacitive load drive capability
应用
- Multiplexed data-acquisition systems
- Test and measurement equipment
- High-resolution ADC driver amplifiers
- SAR ADC Reference buffers
- Programmable logic controllers
- High-side and low-side current sensing
- High precision comparator
Additional Resources
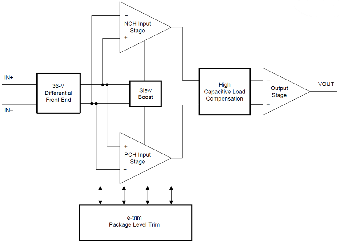
Functional Block Diagram
发布日期: 2016-04-11
| 更新日期: 2024-01-05
