PCM5140-Q1音频ADC集成了高性能功能,可由3.3V或1.8V供电。这使得该设备非常适合用于空间受限的远场麦克风录音应用中的音频系统。 这些音频ADC的工作温度范围为-40°C至125°C,采用24引脚VQFN封装。PCM5140-Q1音频ADC麦克风阵列系统、声控数字助理、电话会议系统以及安全和监控系统。
特性
- 多通道高性能ADC:
- 4通道模拟麦克风或线路输入
- 8通道数字PDM麦克风或模拟和数字麦克风组合
- ADC线路和麦克风差分输入性能:
- 动态范围(DR):
- 支持120dB动态范围增强器(DRE)
- 108dB,DRE禁用
- -98dB THD+N
- 动态范围(DR):
- ADC通道求和模式,DR性能:
- 111 dB,DRE禁用,2通道求和
- 114dB,DRE禁用,4通道求和
- ADC输入电压:
- 差分,2VRMS 满量程输入
- 单端,1VRMS满量程输入
- ADC采样率 (fS) = 8kHz至768kHz
- 可编程通道设置:
- 通道增益:0 dB至42 dB,步进1 dB
- 数字音量控制:-100dB至27dB
- 增益校准,分辨率为0.1 dB
- 相位校准,分辨率为163ns
- 可编程麦克风偏置或电源电压生成
- 低延迟信号处理滤波器选择
- 可编程高通滤波器(HPF)和双四元数字滤波器
- 自动增益控制器(AGC)
- I2C或SPI控件
- 集成式高性能音频PLL
- 自动时钟分频器设置配置
- 音频串行数据接口:
- 格式:TDM、I2S或左对齐 (LJ)
- 字长度:16位、20位、24位或32位
- 控制器或目标接口
- 3.3V或1.8V单电源运行
- 3.3V或1.8V I/O电源运行
- 1.8VAVDD电源下的功耗:
- 8.5mW/channel 16kHz采样率
- 48kHz采样率下为9.2mW/通道
应用
- 麦克风阵列系统
- 语音激活数字助理
- 电话会议系统
- 安防和监控系统
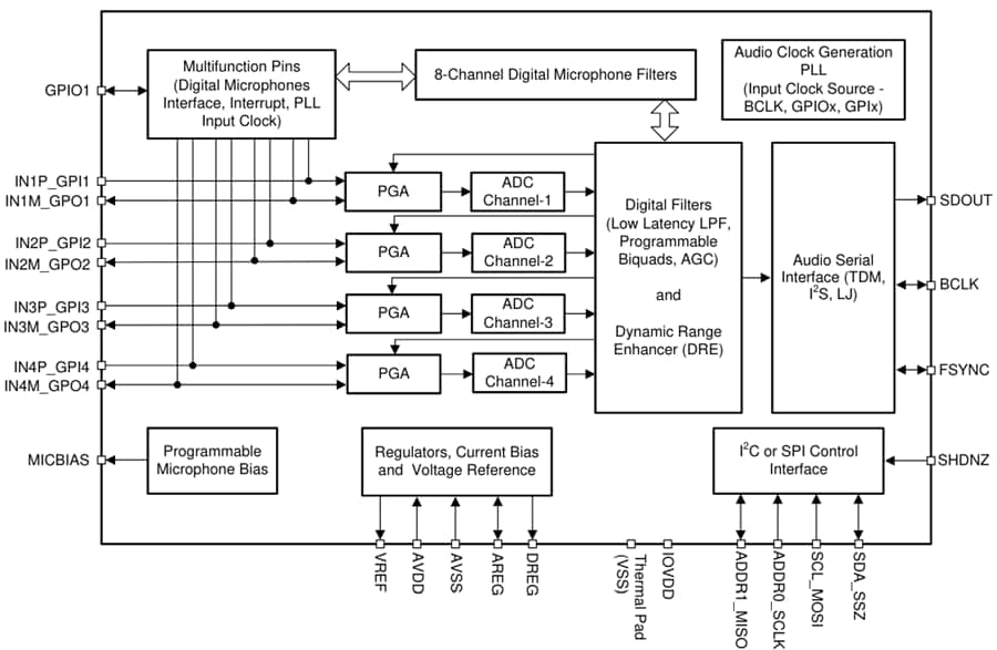
功能框图
其他资源
发布日期: 2024-04-23
| 更新日期: 2025-05-08

