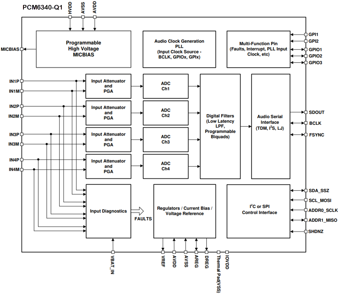
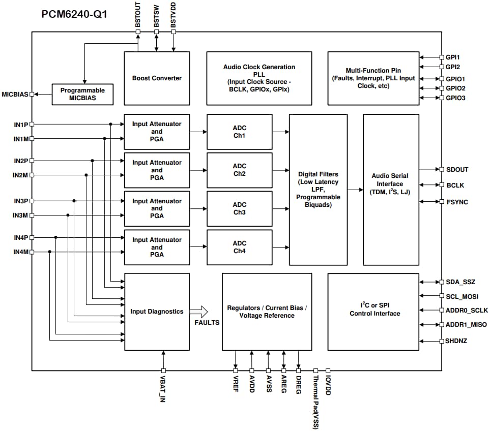
PCM62x0-Q1集成了一个高效的升压转换器,可利用外部低压3.3V电源产生高压麦克风偏置。PCM63x0-Q1使用外部高压电源 (HVDD)(系统中随时可用的电源)来产生高电压、可编程麦克风偏置。PCM6xx0-Q1集成了可编程通道增益、数字音量控制、低抖动锁相环 (PLL) 和可编程高通滤波器 (HPF)。它们还包括双四倍和低延迟滤波器模式,采样率最高可达768kHz。Texas Instruments PCM6xx0-Q1支持时分多路复用 (TDM)、I2S或左对齐 (LJ) 音频格式,并可通过I2C或SPI接口进行控制。这些集成的高性能特性以及3.3V的单电源工作使PCM6xx0-Q1系列成为空间有限的汽车系统的绝佳选择。
特性
- 符合汽车应用类AEC-Q100标准
- 温度等级:1 (-40°C ≤ TA ≤ +125°C)
- ADC性能
- 110dB线路差分输入动态范围
- 110dB麦克风差分输入动态范围
- –95dB THD+N
- 通道求和模式支持高SNR
- ADC输入电压
- 差分、10VRMS 满量程输入
- 单端、5VRMS 满量程输入
- ADC采样率 (fS) =8 kHz至768 kHz
- 可编程通道设置
- 通道增益:0dB至42dB(1dB步进)
- 数字音量控制:–100dB至27dB
- 增益校准,分辨率为0.1dB
- 相位校准,分辨率为163ns
- 可编程麦克风偏置(5 V至9 V)
- 采用集成式高效升压转换器 (PCM62x0-Q1)
- 采用外部高压HVDD电源 (PCM63x0-Q1)
- 可编程麦克风输入故障诊断
- 开路输入或短路输入
- 接地短路、MICBIAS或VBAT
- 麦克风偏置过流保护
- 低延迟信号处理滤波器选择
- 可编程HPF和双二阶数字滤波器
- I2C或SPI控制
- 音频串行数据接口
- 格式:TDM、I2S或左对齐 (LJ)
- 字长度:16位、20位、24位或32位
- 主接口或从接口
- 3.3V单电源运行
- 3.3 V或1.8 V I/O电源运行
- 功耗:<20mW/通道(48kHz时)
应用
- 汽车主动降噪
- 汽车音响主机
- 数字Cockpit处理单元
- 汽车外部放大器
发布日期: 2020-08-19
| 更新日期: 2025-03-05

