Texas Instruments PGA308EVM评估模块 (EVM)
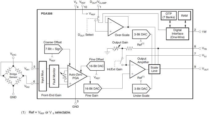
Texas Instruments PGA308EVM评估模块 (EVM) 用于评估PGA308混合信号可编程增益放大器。这款EVM包含两块板:PGA308试验板和USB DAQ平台。PGA308试验板包含PGA308、用于外部连接的端子板、用于器件配置的若干跳线以及支持电路。PGA308试验板可用于在建立客户设计的原型之前对其进行完整测试。USB DAQ平台包含一个带内置USB接口的8052微控制器。微控制器产生与PGA308进行通信所需的单总线 (one-wire) 信号。USB DAQ平台包含一个3V/5V可编程线性稳压器。它还包含一个用于电源控制的开关、通用数字I/O、若干DAC输出和A/D输入。特性
- 灵活的硬件实现对原型的全面测试
- EVM硬件产生和测量所有必需的信号
- 提供传感器校准所需软件
- 提供外部传感器所需连接
- 传感器仿真器实现“开箱即用”测试
典型桥式传感器应用
发布日期: 2019-10-15
| 更新日期: 2023-12-11
