Texas Instruments SN65HVS883数字输入串行器
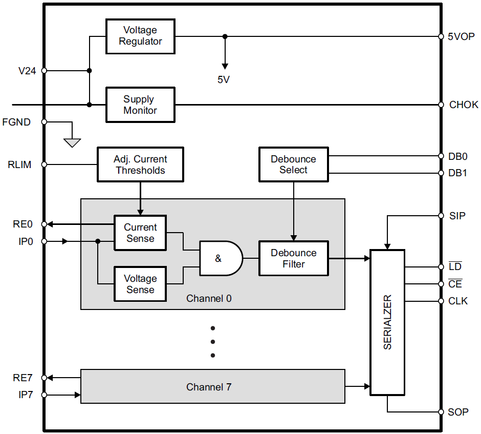
Texas Instruments出品的SN65HVS883数字输入串行器是一款24V八通道串行器,用于工业自动化中的PC和基于PLC的系统的高通道密度数字输入模块。该器件与电流隔离器结合,完成了现场侧的24V传感器输出与控制侧的低压控制器输入之间的接口。由符合EN60947-5-2标准的2线和3线接近开关提供的输入信号受电流限制,然后由内部去抖滤波器进行验证。1、2和3型传感器开关的输入开关特性符合IEC61131-2。在应用负载和时钟信号时,输入数据并行锁存到移位寄存器中。之后,它通过后续隔离器以串行方式将时钟输出到串行PLC输入。特性
- 八个传感器输入
- 输入电压最高达34V
- 可选去抖动滤波器从0ms至3ms
- 可调节电流限制从0.2mA至5.2mA
- 现场输入和电源线路具有15kV人体模型 (HBM) 保护
- 用于外部状态LED的输出驱动器
- 支持多路输入级联(输入数为8的倍数)
- SPI兼容接口
- 用于外部数字隔离器的5V稳压输出
- 低电源电压指示灯
应用
- 用于工业自动化和过程控制的传感器输入
- 符合IEC61131-2标准1类、2类或3类的开关
- 符合EN60947-5-2标准的接近开关
- 用于PC和PLC系统的高通道数数字输入模块
- 分立式I/O模块
功能框图
发布日期: 2017-04-28
| 更新日期: 2022-04-28
