Texas Instruments SN74ACT244/SN74ACT244-Q1八通道缓冲器/驱动器
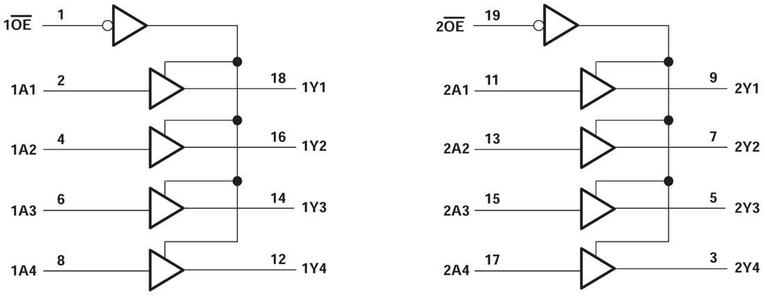
Texas Instruments SN74ACT244/SN74ACT244-Q1八通道缓冲器/驱动器专门设计用于提高三态时钟驱动器、存储器地址驱动器以及总线导向接收器和发送器的性能和密度。SN74ACT244/SN74ACT244-Q1器件配置两个四位缓冲器或驱动器,每个都通过单独的输出使能引脚 (OE) 进行控制。当OE为低电平时,该器件将来自A输入的同相数据传递到Y输出。当OE为高电平时,输出处于高阻态。Texas Instruments SN74ACT244-Q1器件符合汽车应用类AEC-Q100认证。特性
- 工作电压:4.5V至5.5V VCC
- 输入接受电压至5.5 V
- 最大tpd :9.5ns(5V时)
- 输入兼容TTL
应用
- 服务器和网络交换机
- LED显示屏
- 电信基础设施
- 电机驱动控制板
逻辑图
发布日期: 2023-10-27
| 更新日期: 2025-04-29
