特性
- 符合汽车应用类AEC-Q100标准
- 温度等级:1级(环境温度 (TA) 范围:–40°C至125°C)
- 单声道BTL数字功率放大器
- 输出功率:8W(10% THD+N,输入4Ω负载时)
- 工作电压范围:4.5V至18V
- 效率:83%(输入4Ω时)
- 差分模拟输入
- Speaker Guard™扬声器保护,带可调节功率限制器
- 电源抑制比 (PSRR):75dB
- 负载诊断功能
- 开路和短路输出负载
- 输出至功率和输出至接地短路
- 保护和监测功能
- 短路保护
- 40V负载突降保护,符合ISO-7637-2标准
- 播放音乐时输出直流电平检测
- 过温保护
- 过压和欠压保护
- 散热增强型16引脚HTSSOP (PWP) 封装,采用PowerPAD™封装(焊盘朝下)
- 专为满足汽车EMC要求而设计
- 通过ISO9000: 2002 TS16949认证
- 待机40 V负载突降保护
- 待机状态下的非阻塞I2C
应用
- 汽车紧急呼叫 (eCall) 放大器
- 远程信息处理系统
- 仪表组系统
- 信息娱乐音频
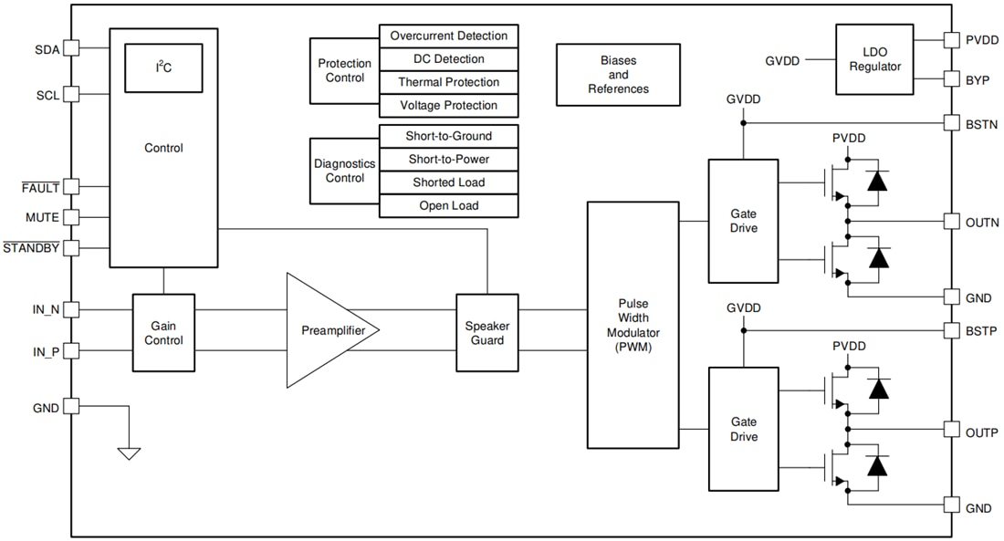
功能框图
发布日期: 2020-08-20
| 更新日期: 2025-03-10

