Texas Instruments TAS5825P音频放大器
Texas Instruments TAS5825P音频放大器是一款采用高级Hybrid-Pro算法的立体声高效闭环音频D类音频放大器。该算法 可提高系统效率,降低热量,没有限幅失真。该音频放大器支持高达4ms的延迟缓冲器,预见音频信号,防止音频限幅失真。TAS5825P放大器在持续播放音乐时,将1节和2节电池的续航时间增加50%以上。该音频放大器支持多种输出配置,提供出色的集成式自我保护。TAS5825P放大器的工作温度范围为-25°C至85°C。该音频放大器非常适合用于电池供电扬声器、机顶盒、条形音箱或低音炮、蓝牙扬声器以及效率敏感型音频系统。特性
- 高效D类运行模式(带Hybrid-Pro):
- 与固定电源电压解决方案相比,电池寿命增加50%左右
- 支持多输出配置:
- 1×53W,1.0模式(4Ω,22V,THD+N=1%)
- 1×65W,1.0模式(4Ω,22V,THD+N=10%)
- 2×30W,2.0模式(8Ω,24V,THD+N=1%)
- 2×38W,2.0模式(8Ω,24V,THD+N=10%)
- 出色的音频性能:
- THD+N≤0.03%(1W,1kHz,PVDD=12V时)
- SNR ≥ 110dB(A加权),ICN ≤ 35µVRMS
- 灵活的音频I/O:
- 支持32、44.1、48、88.2、96kHz SR
- 支持I2S、LJ、RJ和TDM格式
- 支持3线式数字音频接口
- 灵活的处理特性:
- PVDD感应,避免在电压轨下降时出现限幅失真
- 高达4ms预见延迟缓冲器,用于HybridPro算法音频信号跟踪
- 可选8个或16个Hybrid-Pro直流-直流控制步进,峰值样品保持最长10ms
- 出色的集成自我保护:
- 过流误差 (OCE)
- 逐周期限流
- 过热警告 (OTW)
- 过热误差 (OTE)
- 欠压闭锁 (UVLO)
- 过压闭锁 (OVLO)
- 轻松进行系统集成:
- I2C软件控制
- 较小的解决方案尺寸:
- 小型5mm × 5mm封装
- 与开环D类器件相比,需要更少无源器件
- 大多数应用均不需要体积较大的电解电容器或大型电感器
规范
- 工作温度范围:-25°C至85°C
- 储存温度范围:-40°C至125°C
- 电源电压范围:-0.3VPVDD至30VPVDD
应用
- 电池供电扬声器
- 机顶盒 (STB)
- 条形音箱或低音炮
- 无线或蓝牙扬声器
- 对热量或效率敏感的音频系统
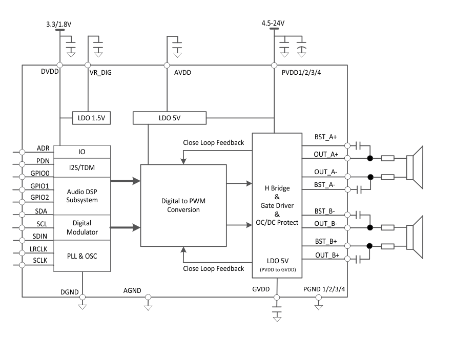
功能框图
发布日期: 2019-12-27
| 更新日期: 2024-02-15
