Texas Instruments TAS5830还提供DSP功能,包括爆音抑制和频率限幅器。爆音抑制功能可降低与音箱外壳相互作用产生爆音的频率信号增益,从而提升音质。频率限幅器可检测输入电平,动态限制均衡器的增益,并在相位未改变的情况下帮助提升SPL。
特性
- 支持多输出配置
- 2 × 80W,BTL模式(4Ω,26V,THD+N=10%)
- 2 × 65W,BTL模式(4Ω,26V,THD+N=1%)
- 2 × 74W,BTL模式(6Ω,30V,THD+N=10%)
- 2 × 63W,BTL模式(6Ω,30V,THD+N=1%)
- 1 × 151W,PBTL模式(3Ω,30V,THD+N=10%)
- 1 × 131W,PBTL模式(3Ω,30V,THD+N=1%)
- 灵活的音频I/O
- 支持32、44.1、48、88.2、96、192 kHz采样率
- I2S、LJ、RJ、4-16通道TDM输入
- SDOUT,用于实现音频监控、子通道或回声消除
- 支持三线制数字音频接口(无需MCLK)
- 高效D类调制,功率效率>90%,RDSon =70mΩ
- 出色的音频性能
- THD+N≤0.03%(1 W,1 kHz,PVDD=12 V时)
- SNR≥110dB(A加权),ICN≤40µVrms
- 灵活的处理特性
- 3频带高级DRC + 2个EQ + AGL + 2个EQ
- 每通道15个BQ、电平计
- 96 kHz、192 kHz处理器采样
- 混频器、音量、动态EQ、输出交叉
- PVDD检测和H类算法音频信号跟踪
- 爆音抑制,频率限幅器
- 灵活的电源配置
- PVDD:4.5 V至30 V
- DVDD和I/O:1.8 V或3.3 V
- 出色的集成式自保护
- 过流误差 (OCE)
- 逐周期电流限制支持4个可选OC电平
- 过热警告 (OTW)
- 过热误差 (OTE)
- 欠压和过压锁定 (UVLO/OVLO)
- PVDD电压降检测
- 轻松系统集成
- I2C软件控制(TAS5830同时支持快速和快速+模式)或硬件模式
- 与开环器件相比,所需的无源器件更少
应用
- 电池供电扬声器
- 无线蓝牙® 音箱
- 条形音箱和低音炮
- 智能扬声器
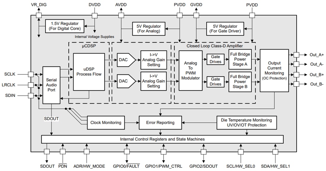
功能框图
发布日期: 2025-08-20
| 更新日期: 2025-08-28

