Texas Instruments TAS6424MS-Q1具有内置负载诊断功能,用于检测和诊断错误连接的输出和交流耦合扬声器,有助于缩短制造过程中的测试时间。TAS6424MS-Q1 D类音频放大器设计用于汽车音响主机和外部放大器模块。
特性
- 符合汽车应用类AEC-Q100标准
- 温度等级1:-40°C至+125°C (TA)
- 高级负载诊断
- 无需输入时钟即可进行直流诊断
- 交流诊断可进行高频扬声器检测,提供阻抗和相位响应
- 轻松满足CISPR25-L5 EMC规范
- 音频输入
- 4通道I2S或4/8通道TDM输入
- 输入采样率:44.1 kHz、48 kHz和96 kHz
- 16位至32位I2S和TDM输入格式
- 音频输出
- 四通道桥接层负载 (BTL)
- 双通道并联BTL (PBTL)
- 高达2.1MHz输出开关频率
- 在4Ω负载、14.4V电源电压和10% THD条件下,输出功率为27W BTL
- 在2Ω负载、14.4V电源电压和10% THD条件下,输出功率为45W BTL
- 在2Ω负载、18V电源电压和10% THD条件下,输出功率为80W PBTL
- 接入4Ω负载的音频性能(14.4V BTL时)
- 1W时THD+N < 0.02%
- 输出噪声:42VRMS
- –90dB串扰
- 负载诊断
- 输出开路和短路负载
- 输出至电池或接地短路
- 线路输出检测高达6kΩ
- 主机独立操作
- 保护
- 输出电流限制和短路保护
- 40 V负载突降
- 开路接地和电源容差
- 直流偏移
- 过温
- 欠压和过压
- 普通运行
- 4.5 V至18 V电源电压
- I2C控制具有四个地址选项
- 夹上锁和未上锁检测
应用
- 汽车音响主机
- 汽车外部放大器
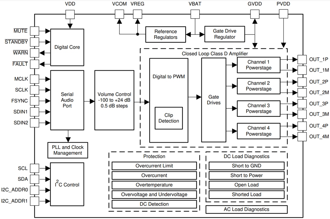
功能框图
发布日期: 2020-12-01
| 更新日期: 2025-02-27

