Texas Instruments TCA9406 2-Bit Bidirectional Translators
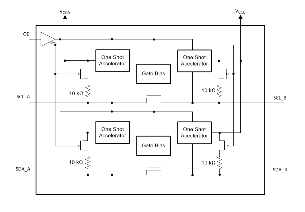
Texas Instruments TCA9406 2-Bit Bidirectional Translators are designed for SDA and SCL lines in mixed-mode I2C applications. These two-bit bidirectional translators are operational from 1.65V to 3.6V on A-Port and 2.3V to 5.5V on B-port. The enable input is referenced to VCCA with a maximum input voltage tolerance of 4.6V. The TI TCA9406 voltage-level translators can operate up to 24Mbps in push-pull mode and up to 2Mbps with open-drain mode. The TI TCA9406 bidirectional translators provide both level translation and physically isolates the capacitance to either side of the bus when both sides are connected. Texas Instruments TCA9406 2-Bit Bidirectional Translators are ideal for a variety of level-shifter applications, including I2C/SMBus, UART, and GPIO.Features
- TAS2560 5.7W Class-D audio amplifier with IV sense
- USB cable for control and digital audio input
- PurePath console 3 software access
- IOFF supports partial power-down (VCC= 0V) with 2mA
- Stereo capable when connecting two TAS2560 evaluation modules
- High-impedance output SCL1, SDA1, SCL2, and SDA2 pins when OE = low or VCC = 0V
Applications
- I2C/SMBus
- UART
- GPIO
Block Diagram
发布日期: 2011-04-11
| 更新日期: 2022-11-16
