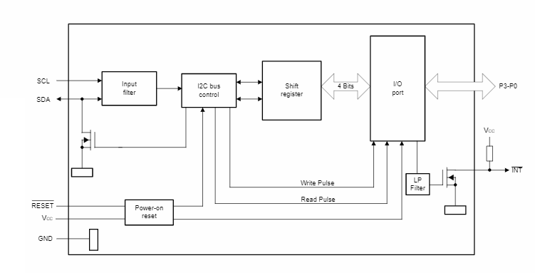
TI TCA9537 I/O扩展器提供开漏中断输出 (INT) 功能,功能在任何输入与其相应的输入端口寄存器状态不同时激活,用于向系统控制器指示输入状态已发生变化。在超时或其他不当操作情况下,系统处理器可通过I2C软复位命令(或者使用RESET引脚)重置TCA9537,该命令可将寄存器置于默认状态。
特性
- I2C转GPIO扩展器
- 工作电源电压范围:1.65V至5.5V
- 耐受5V的I/O端口
- 通过I2C通用呼叫进行软件复位
- 用于外部复位控制的RESET输入引脚
- 专用INT输出
- 1MHz快速模式 + I2C总线
- 输入和输出配置寄存器
- 极性反转寄存器
- 内部上电复位
- 上电,所有通道配置为输入
- SCL和SDA输入端噪声滤波器
- 锁存输出带大电流驱动最大能力,用以直接驱动LED
- 静电放电保护超出JESD 22标准
- 2000V人体模型 (A114-A)
- 1000V充电器件模型 (C101)
应用
- 个人电子设备
- 可穿戴设备
- 手机
- 游戏机
- 服务器
- 路由器
简化示意图
逻辑图
发布日期: 2022-04-10
| 更新日期: 2022-06-02

