该设备的功能包括:当输入端口状态发生变化时,INT引脚会产生中断。A0和A1硬件可选地址引脚允许在同一I2C总线上最多连接四个设备。通过循环电源并进行上电重置,可以将设备重置为其默认状态。它还有一个硬件重置引脚,可用于将设备重置为其默认状态。
Texas Instruments TCA9539x-Q1 I2C I/O扩展器符合汽车应用类标准。
特性
- 符合汽车应用类AEC-Q100标准,温度等级1:–40°C至+125°C,TA
- 具有功能安全能力,可提供文档协助功能安全系统设计
- I2C至并行端口扩展器
- 开漏式低电平有效中断输出
- 低电平有效重置输入
- 5V耐受输入和输出端口
- 兼容大多数微控制器
- 400kHz快速I2C总线
- 极性反转寄存器
- 内部上电重置
- 上电时无毛刺
- 通过两个硬件地址引脚进行寻址,可使用多达四个设备
- 锁存输出,用于直接驱动LED
- 闩锁性能超过JESD 78的100mA(II级)
- ESD保护超过JESD 22
- 2000V人体模型(A114-A)
- 1000 V充电器件模型 (C101)
应用
- 汽车信息娱乐
- 高级驱动器辅助系统 (ADAS)
- 汽车车身电子设备
- HEV
- EV
- 动力传动系统
- 工业自动化
- 工厂自动化
- 楼宇自动化
- 测试与测量
- EPOS
- I2C GPIO扩展
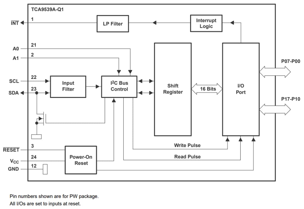
功能框图
发布日期: 2025-09-18
| 更新日期: 2025-09-28

