Texas Instruments TCAL6416R I2C-Bus/SMBus I/O扩展器
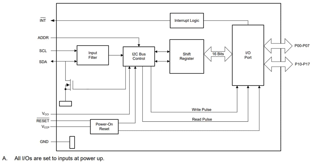
Texas Instruments TCAL6416R I2C总线/SMBus I/O扩展器可为双线双向SMBus或I2C总线协议提供通用输出(I/O)和并行输入扩展。该器件在P端口侧(VCCP)的电源电压范围为1.08V至3.6V,在I2C总线侧(VCCI)的电源电压范围亦为1.08V至3.6V。该器件支持100kHz(标准模式)、400kHz(快速模式)以及1MHz(快速增强模式)的I2C时钟频率。在需要为传感器、开关、按键、LED、风扇等增加额外I/O时,TCAL6416R等I/O扩展器提供了一种简单的解决方案。Texas Instruments TCAL6416R具有灵活的I/O端口,其中包括旨在增强I/O性能(涉及功耗、速度和EMI)的附加功能。附加功能包括可编程上拉和下拉电阻器、可编程输出驱动能力、可锁定输入、中断状态寄存器、可屏蔽中断以及可编程开漏或推挽输出。RESET引脚仅在I2C状态机卡死时复位,用于恢复对I2C的访问。在I2C重新初始化期间,I/O引脚和保持寄存器会保留最后配置的状态。
特性
- 工作电源电压范围:1.08 V至3.6 V
- 支持在1.2V、1.8V、2.5V和3.3V的I2C总线与P端口之间进行双向电压电平转换及GPIO扩展
- 1.8V时具有1µA(典型值)的低待机电流消耗
- 1MHz快速增强模式I2C总线
- 硬件地址引脚允许在同一I2C/SMBus总线上接入两个器件
- 低电平有效复位输入(/RESET)
- 当器件通过/RESET复位时,保持寄存器会保留其数值
- I2C功能状态机复位
- 开漏低电平有效中断输出(/INT)
- 输入或输出配置寄存器
- 极性反转寄存器
- 可配置的I/O驱动能力寄存器
- 10kΩ上拉和下拉电阻器配置寄存器
- 内部开机重置
- 软件重置呼叫支持
- SCL或SDA输入端的噪声滤波器
- 锁存输出带大电流驱动最大能力,用以直接驱动LED
- 闭锁性能超过100mA,符合JESD 78 II类标准
- ESD保护性能超出JESD 22标准要求
- 4000V人体模型 (A114-A)
- 1000 V 充电器件模型(C101)
应用
- 服务器
- 路由器(电信交换设备)
- 个人电脑
- 个人电子设备
- 工业自动化
- 游戏机
- 配备GPIO有限处理器的产品
简化原理图
功能框图
发布日期: 2025-08-20
| 更新日期: 2025-08-28
