Texas Instruments TLVx197-Q1高压精密运算放大器
Texas Instruments TLVx197-Q1高压精密运算放大器(运放)是新一代低成本、 36V、汽车级运算放大器的组成部分。TLVx197-Q1在塑料成型工艺后的最后制造步骤中采用一种封装级微调方法,对偏移和偏移温度漂移进行微调。这种方法最大限度地减少了固有输入晶体管不匹配和封装成型过程中产生的误差的影响。Texas Instruments TLVx197-Q1具有良好的直流精度和交流性能,包括轨至轨输入/输出、优化的成本结构和AEC-Q100等级1资格认证。这一特性使其成为汽车领域低端、电流感应和信号调节应用的绝佳选择。其他独特功能还包括电源轨的差分输入电压范围、高输出电流(±65mA)、高达1nF的重电容负载驱动以及高转换速率(20V/µs)。这些特性使得这些器件成为高压汽车应用的可靠、高性能运算放大器。TLVx197-Q1运算放大器采用标准封装,指定工作温度范围为–40°C至+125°C。
特性
- 符合汽车应用类AEC-Q100标准
- 温度等级1:-40°C至+125°C,TA
- 低失调电压:±500µV(最大值)
- 低噪声:5.5nV/√Hz(1kHz时)
- 高共模抑制:140dB
- 低偏置电流:±5pA
- 轨到轨输入和输出
- 宽带宽:10MHz GBW
- 高转换率:20V/µs
- 低静态电流:每个放大器1mA
- 宽电源电压范围:±2.25V至±18V,4.5V至36V
- 已过滤电磁干扰 (EMI)/射频干扰 (RFI) 的输入
- 等同于电源轨的差分输入电压范围
- 高电容性负载驱动能力:1nF
- 工业标准封装
- 单通道,采用超小8引脚VSSOP封装(TLV197-Q1)
- 双通道,采用8引脚VSSOP封装(TLV2197-Q1)
- 四通道,采用14引脚TSSOP封装(TLV4197-Q1)
应用
- 逆变器和电机控制
- 直流/直流转换器
- 车载充电器 (OBC) 和无线充电器
- 电池管理系统 (BMS)
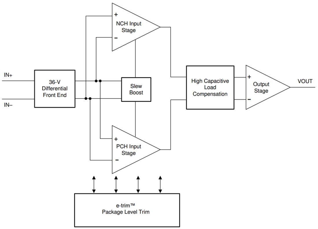
框图
发布日期: 2020-05-20
| 更新日期: 2025-03-10
