特性
- 高性能静态CMOS技术
- 150MHz(6.67ns周期时间)
- 低功耗(135MHz时为1.8V内核电压,150MHz时为1.9V内核电压,3.3V I/O)设计
- JTAG边界扫描支持IEEE标准1149.1-1990 IEEE标准测试访问端口和边界扫描架构
- 高性能32位CPU (TMS320C28x)
- 16x16和32x32 MAC操作
- 16x16双MAC
- Harvard总线架构
- 连动运算
- 快速中断响应和处理
- 统一存储器编程模型
- 4M线性程序/数据地址范围
- 高效代码(使用C/C++和汇编语言)
- TMS320F24x/LF240x处理器源代码兼容
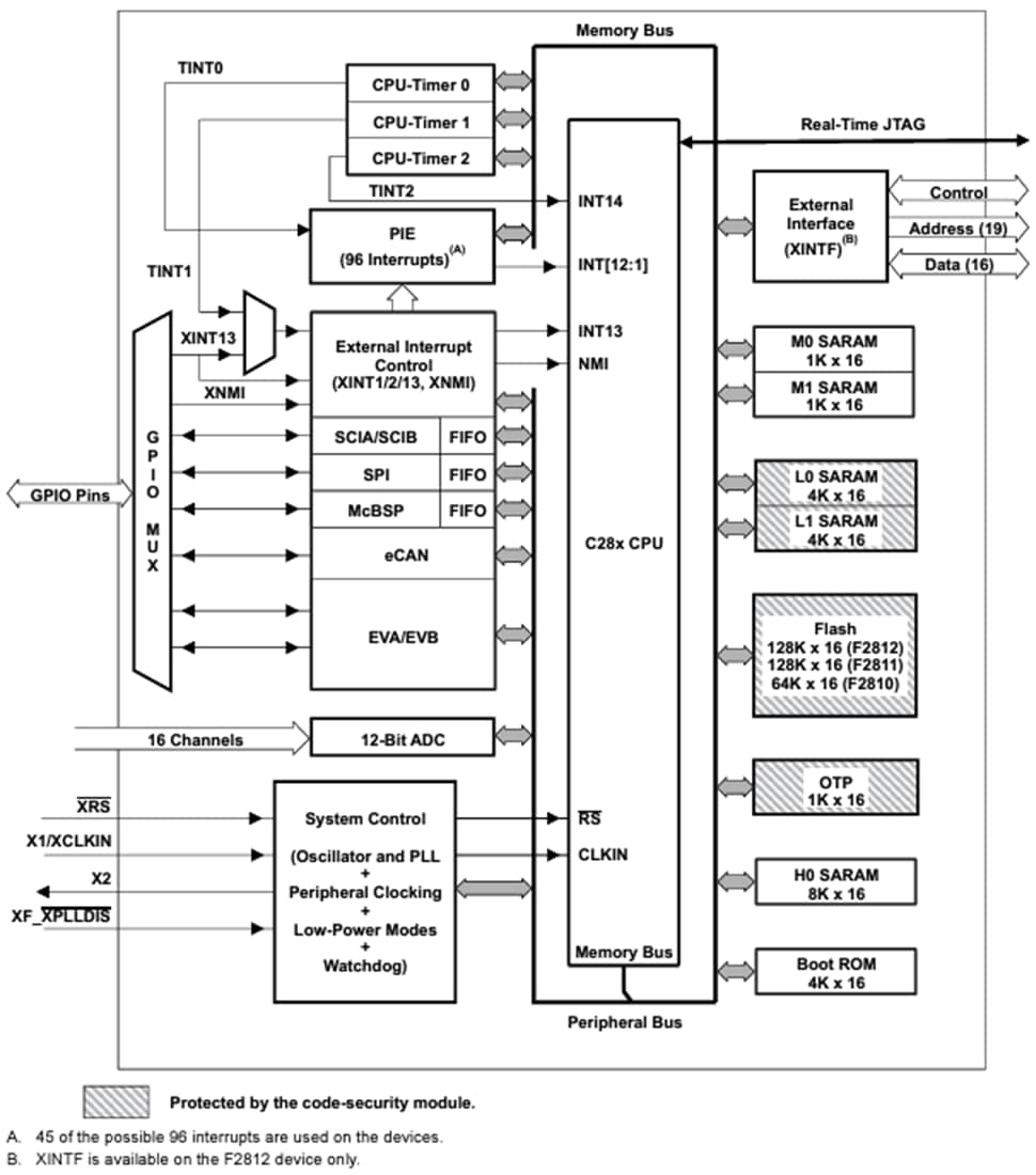
- 片上存储器
- 闪存器件:高达128K × 16的闪存(四个8K × 16和六个16K × 16的扇区)
- ROM器件:高达128K x 16的ROM
- 1K x 16 OTP ROM
- L0和L1:2块4K × 16的单周期访问RAM (SARAM)
- H0:1块8K × 16的SARAM
- M0和M1:2块1K × 16的SARAM
- 引导ROM (4K × 16)
- 具有软件引导模式
- 标准数学表
- 外部接口 (2812)
- 超过1Mx16总内存
- 可编程等待状态
- 可编程读取/写入选通计时
- 三个独立芯片可选
应用
- Advanced Driver Assistance Systems (ADAS)
- Building automation
- Electronic point of sale
- Electric Vehicle/Hybrid Electric Vehicle (EV/HEV) powertrain
- Factory automation
- Grid infrastructure
- Industrial transport
- Medical, healthcare, and fitness
- Motor drives
- Power delivery
- Telecom infrastructure
- Test and measurement
Functional Block Diagram
发布日期: 2019-10-07
| 更新日期: 2023-11-27

