Texas Instruments TMS320F280015x/TMS320F280015x-Q1 120MHz MCU
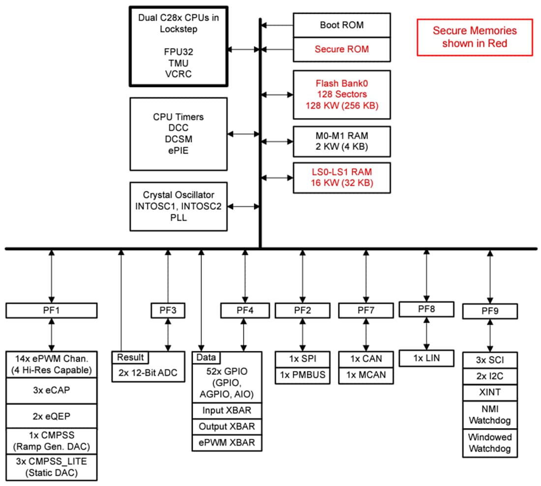
Texas Instruments TMS320F280015x/TMS320F280015x-Q1 32位120MHz微控制器 (MCU) 具有锁步式双核32位C28x CPU,使该器件能够在没有多大软件开销的情况下达到ASIL B功能安全器件等级。其实时控制子系统基于TI’s 32位C28x DSP内核,它为从片上闪存或SRAM运行的浮点或定点代码提供120MHz信号处理性能。C28x CPU由三角函数数学单元 (TMU) 和 VCRC(循环冗余校验)扩展指令集得到进一步增强,加快了对实时控制系统至关重要的常见算法。
Texas Instruments TMS320F280015x/TMS320F280015x-Q1支持高达256KB (128KW) 闪存。该器件具有高达36KB (18KW) 的片上SRAM,也可用于补充闪存。高性能模拟块集成到F280015x/F280015x-Q1实时微控制器 (MCU) 中,并与处理和PWM单元紧密耦合,以提供最佳实时信号链性能。14个PWM通道可实现各功率级的控制——从3相逆变器到功率因数修正,以及其他高级多级功率拓扑。
通过各种行业标准通信端口(PmBus、SPI、SCI、LIN、I2C、CAN和CAN FD)支持接口,并提供多种引脚复用选项,以优化信号布局。TMS320F280015x-Q1器件符合汽车应用类AEC-Q100认证。
特性
- 120MHz 32位锁步双TMS320C28x内核
- IEEE 754浮点单元 (FPU)
- 三角函数数学单元 (TMU)
- CRC引擎和说明 (VCRC)
- 片上存储器
- 256KB (128KW) 单组闪存(ECC保护)
- 36KB (18KW) RAM(ECC/奇偶校验保护)
- 双区域安全
- 安全启动和JTAG锁定
- 时钟和系统控制
- 两个内部10MHz振荡器
- 晶体振荡器或外部时钟输入
- 窗口看门狗定时器模块
- 丢失时钟检测电路
- 双时钟比较器 (DCC)
- 1.2V核心、3.3V I/O设计
- 内部VREG可生成1.2V电压
- 掉电复位 (BOR) 电路
- 系统外设
- 52个独立可编程多路复用通用输入/输出 (GPIO) 引脚(11个与模拟共享)
- 模拟引脚上十个数字输入
- 增强型外设中断扩展 (ePIE)
- 支持多低功耗模式 (LPM)
- 唯一识别号 (UID)
- 通信外设
- 一个电源管理总线(PMBus)接口
- 两个集成电路总线(I2C)接口
- 一个控制器局域网(CAN/DCAN)总线端口
- 一个具有灵活数据速率的控制器局域网 (CANFD/MCAN) 总线端口
- 一个串行外设接口 (SPI) 端口
- 三个UART兼容串行通信接口 (SCI)
- 一个UART兼容本地互连网络 (LIN) 接口
- 模拟系统
- 两个4MSPS、12位模数转换器 (ADC)
- 多达21个外部通道(11个与GPIO共享)
- 每个ADC四个集成后处理块 (PPB)
- 一个带12位基准数模转换器 (DAC) 的窗口比较器 (CMPSS)
- 数字毛刺滤波器
- COMPDACOUT(11位)
- 三个窗口比较器 (CMPSS_LITE),带9.5位有效参考DAC
- 两个4MSPS、12位模数转换器 (ADC)
- 增强型控制外设
- 14个ePWM 通道,包含四个具有高分辨率功能(150ps分辨率)的通道
- 集成死区支持
- 集成硬件跳闸区域 (TZ)
- 三个增强型捕获 (eCAP) 模块
- 两个增强型正交编码器脉冲 (eQEP) 模块,支持CW/CCW工作模式
- 嵌入式图形生成器 (EPG)
- 14个ePWM 通道,包含四个具有高分辨率功能(150ps分辨率)的通道
- SW AES用CMAC密钥(128位)
- 诊断特性
- 存储器上电自检 (MPOST)
- 针对功能安全标准
- 开发用于功能安全应用
- 配备相关文档来协助进行符合ISO 26262和IEC 61508标准的系统设计
- 系统功能符合ASIL D和SIL 3等级
- 硬件功能符合ASIL B和 IL 2等级
- 安全相关认证
- 计划通过TÜV SÜD高达ASIL B和SIL 2等级的ISO 26262和IEC 61508认证
- 封装选项
- 80引脚薄型四方扁平 (LQFP) [PN后缀]
- 64引脚LQFP [PM后缀]
- 48引脚PowerPAD™热增强型薄四方扁平 (HTQFP) [PHP后缀]封装
- 32引脚超薄四方扁平无引线 (VQFN) [RHB后缀]封装
- 环境温度 (T A)(请参阅器件信息表和器件比较)
- F280015xS、F280015xQ器件:–40°C至125°C
- F280015xE器件:–40°C至150°C
应用
- 汽车
- ADAS
- 雷达ECU
- 机械扫描LIDAR
- 车身电子产品和照明
- 车门控制模块
- 行李箱模块
- 窗口模块
- 车身控制模块 (BCM)
- 暖通空调压缩机模块
- 暖通空调控制模块
- 内部加热器模块
- 前灯
- 座椅舒适模块
- 座椅位置和折叠模块
- 方向盘控制
- 直流/交流逆变器
- 中功率DC-DC转换器
- ADAS
- 混合动力、电动和动力总成系统
- 电池管理系统 (BMS)
- 直流/直流转换器
- 逆变器和电机控制
- 车载充电器 (OBC) 和无线充电器
- 车辆控制单元 (VCU)
- 虚拟引擎音响系统 (VESS)
- 发动机风扇
- eTurbo/充电器
- 泵
- 自动传输
- 电动助力转向系统 (EPS)
- 信息娱乐与仪表板
- 平视显示器
- 远程信息处理控制单元
- 汽车音响主机
- 售后音频放大器
- 汽车主动降噪
- 汽车外部放大器
- 电池管理系统 (BMS)
- 工业
- 电机驱动器
- 交流驱动器控制模块
- 交流驱动功率级模块
- 伺服驱动控制模块
- 伺服驱动器功率极模块
- 工厂自动化和控制
- 移动机器人电机控制
- 电信和服务器电源
- 商用直流/直流
- 商户网络和服务器PSU
- 商用电信用整流器
- UPS
- 三相UPS
- 单相在线UPS
- 电机驱动器
功能框图
发布日期: 2023-08-03
| 更新日期: 2025-05-06
