单独的程序和数据空间允许同时访问程序指令和数据,从而提供高并联度。在一个周期内可以执行两个读取操作和一个写入操作。具有并行存储和应用特定指令的指令可以充分利用此架构。此外,数据还可以在数据和程序空间之间传输。这种并行技术支持强大的算术、逻辑和位操作运算,这些均可在一个机器周期内执行。该器件还包括用于管理中断、重复操作和功能呼叫的控制机制。
特性
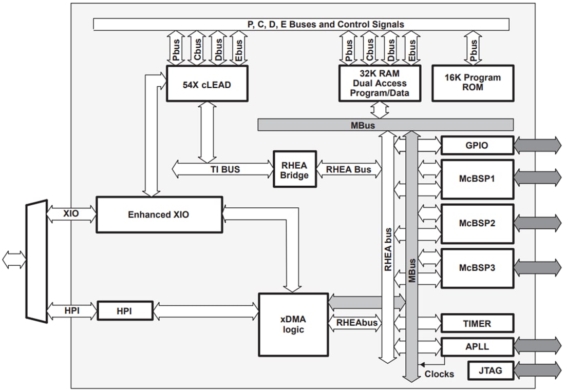
- 先进的Multibus架构,具有三条独立的16位数据存储器总线和一条程序存储器总线
- 40位算术逻辑单元 (ALU),包括一个40位桶形移位器和两个独立的40位累加器
- 17- ×17位并行倍频器,耦合到一个40位专用网络延长器上,用于非流水线单周期乘法/累加 (MAC) 操作
- 比较、选择和存储单元 (CSSU),以便添加/比较Viterbi操作人员的选择
- 指数编码器,用于计算一个周期内40位累加器值的指数值
- 两个地址发生器,带八个辅助寄存器和两个辅助寄存器算法单元 (ARAU)
- 具有总线支架功能的数据总线
- 扩展寻址模式,用于8M\xD7 × 16位最大可寻址外部程序空间
- 32K × 16位片上RAM,包括
- 四块8K\xD7 16位片上双存取程序/数据RAM
- 16K\xD7×16位片上ROM,配置用于程序存储器
- 增强型外部并行接口 (XIO2)
- 单指令重复和块重复操作,用于程序代码
- 块-内存-移动指令,实现更好的编程和数据管理
- 带32位长字操作数的指令
- 带两个或三个操作数读取的指令
- 带并行存储和并行负载的算术指令
- 条件存储指令
- 中断快速返回
- 片上外设
- 软件可编程等待状态发生器和可编程组切换
- 片上可编程锁相环 (PLL) 时钟发生器,带内部振荡器或外部时钟源
- 一个16位定时器
- 6通道直接内存访问 (DMA) 控制器
- 三个多通道缓冲式串行端口(McBSP)
- 8/16位增强型并行主机端口接口 (HPI8/16)
- 带IDLE1、IDLE2和IDLE3指令的功耗控制,具有掉电模式
- CLKOUT关闭控制,禁用CLKOUT
- 基于片上扫描的仿真逻辑,IEEE Std 1149.1 (JTAG) 边界扫描逻辑
- 144引脚球栅阵列 (BGA)(GGU后缀)
- 144引脚薄型四方扁平封装 (LQFP)(PGE后缀)
- 6.25ns单周期定点指令执行时间 (160 MIPS)
- 8.33ns单周期定点指令执行时间 (120 MIPS)
- 3.3V I/O电源电压(160和120 MIPS)
- 1.6V内核电源电压 (160 MIPS)
- 1.5V内核电源电压 (120 MIPS)
功能框图
发布日期: 2020-08-12
| 更新日期: 2024-08-02

