TMUX9616N可单独订购,并放置在TI TMUX9616QFPEVM上进行评估。
特性
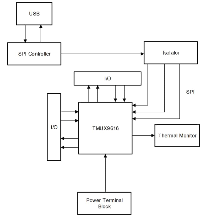
- 集成SPI控制器硬件和GUI,用于与TMUX9616通信
- 直接对接接头,轻松集成TX7516脉冲发生器
- 排针引脚,用于监控所有源极、漏极引脚以及数字控制引脚
- 用于VDD 、VLL 和GND的电源端子,在输入电源端子和设备附近装有去耦电容器
- 带LED信号的热关断监控电路
应用
- 医学超声波影像
- NDT金属探伤
- 压电传感器驱动器
- 超声波流量变送器
- 打印机
- 光学 MEMS 模块
套件内容
- TMUX9616QFPEVM
- Mini-USB电缆
功能框图
布局
发布日期: 2025-05-29
| 更新日期: 2025-06-06

