该器件支持全面诊断,提供数字状态输出。打开和关闭状态下均具有开路负载检测功能。此器件支持带或不带MCU运行。独立模式允许隔离系统使用器件。
特性
- 符合汽车应用标准
- 具有符合AEC-Q100标准的下列结果:
- 器件温度1级:-40°C至+125°C的环境工作温度范围
- 器件人体模型 (HBM) 静电放电 (ESD) 分类等级H2
- 器件充电器件模型 (CDM) ESD分类等级C4B
- 单通道200mΩ智能高侧开关
- 宽工作电压范围:3.4V至40V
- 超低待机电流:<500nA
- 带外部电阻器的可调电流限制
- ±15%(≥500mA时)
- ±10%(≥1.5A时)
- 可配置的电流限制后行为
- 保持模式
- 锁存模式,延迟时间可调
- 自动重试模式
- 支持独立工作,无需MCU
- 保护
- 对GND短路保护和过载保护
- 热关断和热摆幅
- 电感负载负电压钳位
- 接地失效和电池失效保护
- 问题诊断
- 过载和接地检测
- 打开和关闭状态下开路负载和对电池短路检测
- 热关断和热摆幅
应用
- 车身照明
- 信息娱乐系统
- 高级辅助驾驶系统 (ADAS)
- 单通道高侧开关,用于子模块
- 通用电阻、电感和电容负载
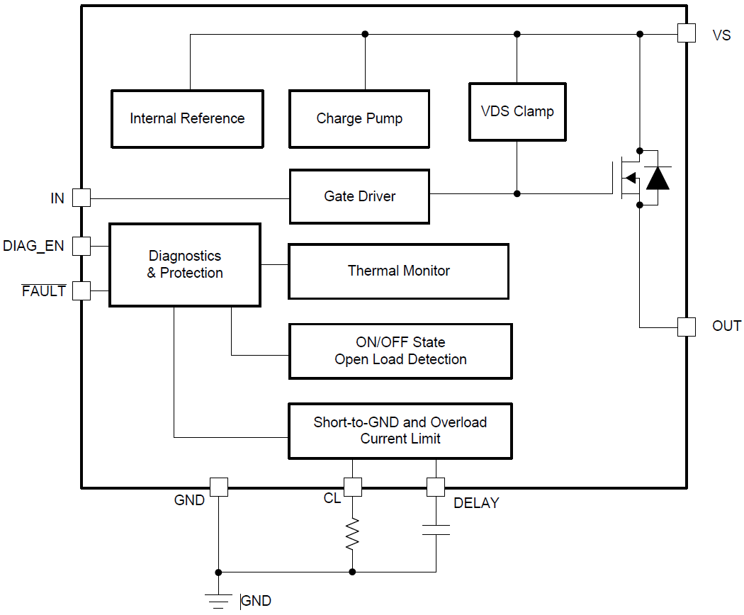
功能框图
发布日期: 2018-07-24
| 更新日期: 2025-03-06

