Texas Instruments TPS27SA08/TPS27SA08-Q1智能高侧开关
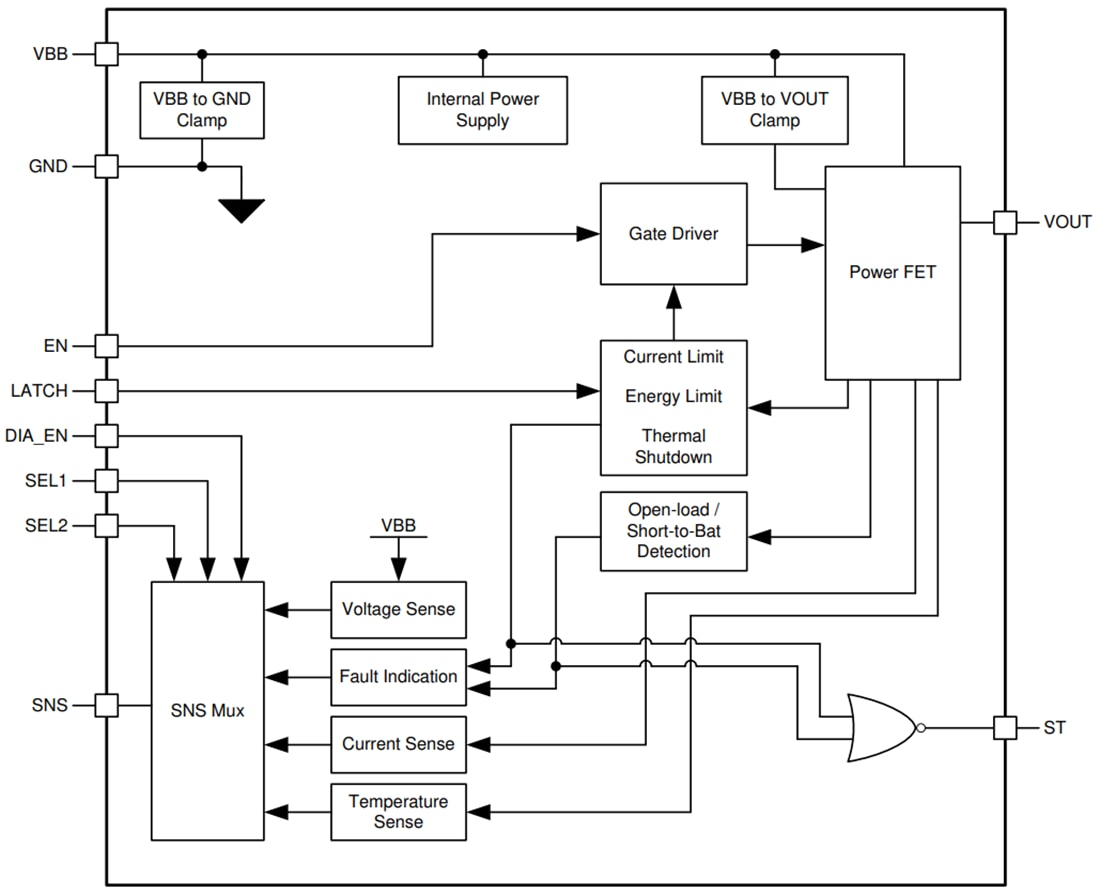
Texas Instruments TPS27SA08/TPS27SA08-Q1智能高侧开关是一款单通道智能高侧开关,设计用于24V电源系统。该器件具有强大的保护和诊断功能,确保发生有害事件时(如短路)能够保护输出端口。该器件通过可靠的限流功能防止出现故障,根据器件型号的不同,对过流事件的反应可配置为:立即关闭开关或以设定点(标称值20A)调节输出电流。TPS27SA08/TPS27SA08-Q1器件还提供高精度模拟电流检测,可在驱动各种负载情况时提高诊断能力。该器件通过向系统MCU报告负载电流、器件温度和电源电压,实现预测性维护和负载诊断,延长了系统的使用寿命。Texas Instruments TPS27SA08/TPS27SA08-Q1器件采用小型16引脚HTSSOP封装,可减少PCB占位面积。特性
- 单通道智能高侧开关,RON 典型值为9mΩ (TJ = 25°C)
- 通过过流保护提高可靠性
- 电流限制阈值标称值为20A
- 达到阈值时电流限制(钳位)
- 强大的集成输出保护
- 集成式热保护
- 对地短路和电源短路保护
- 反向供电时自动FET接通
- 若出现电源和接地损失,则自动关闭
- 集成输出钳,消磁电感负载
- 可配置故障处理
- 可对模拟检测输出进行配置,以精确测量
- 负载电流
- 电源电压
- 器件温度
- 提供FLT指示回MCU
- 检测断态和GND短路条件下的开路负载
应用
- 工业电机驱动器
- 加热元件
- 传感器元件加热器
- 油箱加热器
- 大电流数字输出
- 电感负载
功能框图
发布日期: 2020-12-02
| 更新日期: 2024-10-07
