该双通道高侧开关可提供高精度模拟电流检测,从而改进负载诊断。通过向系统MCU报告负载电流和器件温度,TPS2HB16-Q1开关可实现预测性维护和负载诊断,从而延长系统寿命。Texas Instruments TPS2HB16-Q1开关采用HTSSOP封装,可减小PCB尺寸。此系列TPS2HB16-Q1器件符合AEC-Q100标准,适用于汽车应用。典型应用包括ADAS模块、变速箱控制单元、座椅舒适模块、车身控制模块和汽车显示模块。
特性
- 符合汽车应用标准
- 符合AEC-Q100认证,结果如下
- 器件温度等级1
- 环境工作温度范围(TA)=-40°C至125°C
- 器件HBM ESD分类等级2
- 器件充电器件模型 (CDM) ESD分类等级C4B
- 承受40 V负载突降
- 器件温度等级1
- 双通道智能高侧开关,RON 为16mΩ(TJ =25°C)
- 通过可调电流限制提高系统级可靠性
- 电流限制可调范围为4.1A至48.5A,内部固定为60A
- 通过SNS引脚提供故障指示
- 检测开路负载和电池短路
- 稳健的集成式输出保护
- 集成式热保护
- 接地短路或电池短路保护
- 反向电池事件保护,包括电压反向时自动启动
- 若出现电池/接地损失,则自动关闭
- 集成输出钳,消磁电感负载
- 可配置故障处理
- 可对模拟检测输出进行配置,以精确测量
- 负载电流
- 器件温度
应用
- 汽车显示屏模块
- 高级驾驶辅助系统 (ADAS) 模块
- 座椅舒适模块
- 变速器控制单元
- 采暖、通风和空调 (HVAC) 控制模块
- 车身控制模块
- 白炽灯和LED灯
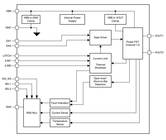
框图
发布日期: 2020-01-08
| 更新日期: 2025-03-06

